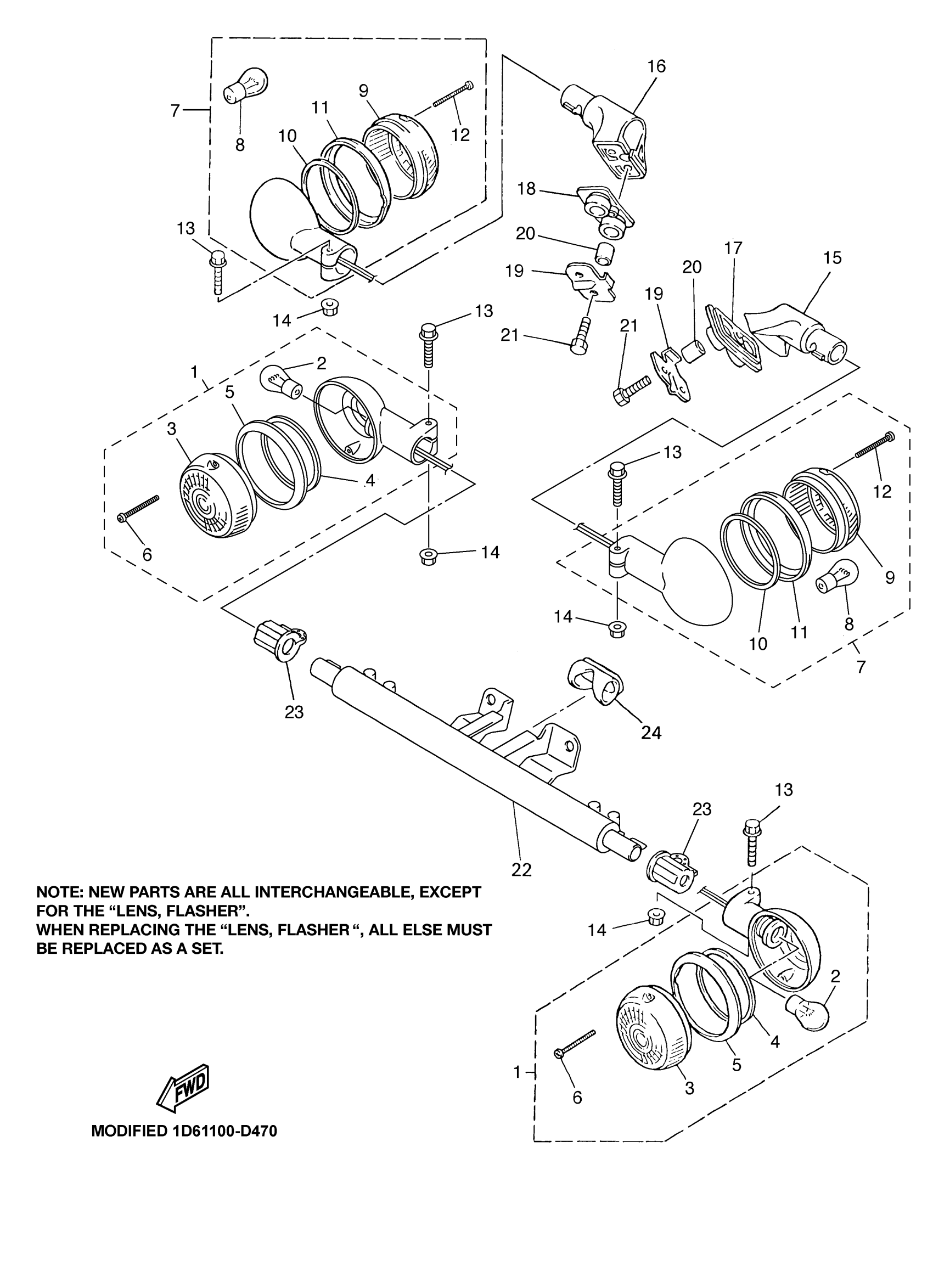
Yamaha XVZ13TFLC (ROYAL STAR VENTURE CA) 4XY2 1999 FLASHER LIGHT Diagram
#
Description
Price
1
FRONT FLASHER LIGHT ASSY 1
4NK-83310-01-00
Unavailable
1
FRONT FLASHER LIGHT ASSY 2
4NK-83320-01-00
Unavailable
6
SCREW, COUNTERSUNK
90151-03003-00
Unavailable
8
. BULB (12V-32CP)
256-83311-70-XX
Unavailable
11
. LENS, RIM
42X-83363-00-00
Unavailable
12
SCREW, COUNTERSUNK
90151-03003-00
Unavailable
13
BOLT, FLANGE(4AS)
95024-06030-00
Unavailable
14
NUT, FLANGE(7NB)
95780-06500-00
Unavailable
15
STAY, FLASHER 1
4YE-83318-00-00
Unavailable
16
STAY, FLASHER 2
4YE-83328-00-00
Unavailable
17
BASE, FLASHER 1
4YE-83314-00-00
Unavailable
18
BASE, FLASHER 2
4YE-83324-00-00
Unavailable
19
WASHER, SPECIAL 8
4YE-8334F-00-00
Unavailable
20
COLLAR
90387-06113-00
Unavailable
21
BOLT, HEXAGON
97017-06020-00
Unavailable
22
STAY, 8
4XY-2317V-00-00
Unavailable
23
DAMPER, FLASHER 1
4NK-83321-00-00
Unavailable
24
PLUG, BLIND
4NK-83345-00-00
Unavailable
