Partiron

Yamaha XVZ13LTKC (ROYAL STAR TOUR DELUXE CA) 4YE6 1998 GENERATOR Diagram

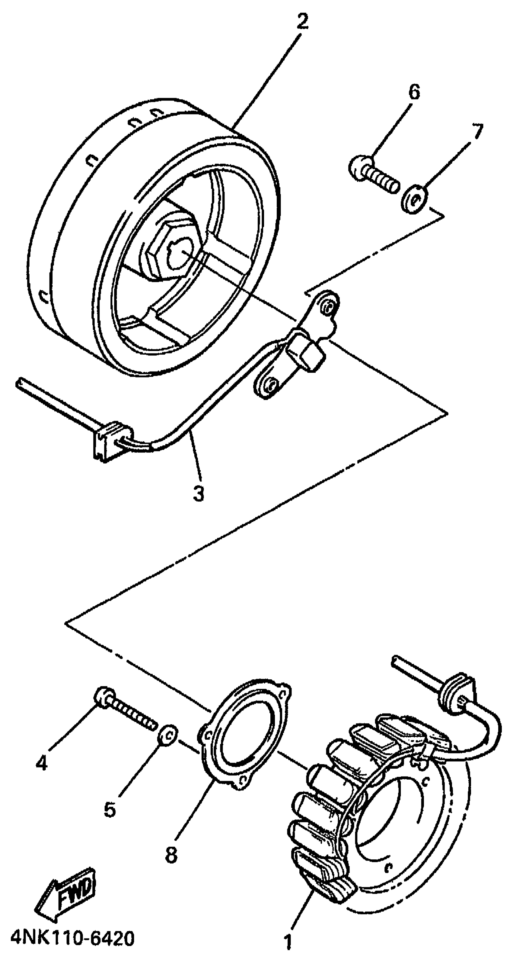
#

Description
Price

1

STATOR ASSY

4NK-81410-00-00

Unavailable

2

ROTOR ASSY

4NK-81450-00-00

Unavailable

3

PICK-UP ASSY

4NK-81670-00-00

$185.99

4

SCREW, PAN

98517-06030-00

Unavailable

5

WASHER(6TA)

92907-06600-00

$2.72

6

SCREW, PAN HEAD(3TJ)

98507-06016-00

$3.48

7

WASHER, PLATE

90201-06045-00

$8.49

8

PLATE

4NK-15113-00-00

$10.99