- Partiron
- OEM Parts
- Yamaha
- motorcycle
- 1989
- XVZ13DWC (VENTURE ROYALE CA) 1989
REAR MASTER CYLINDER
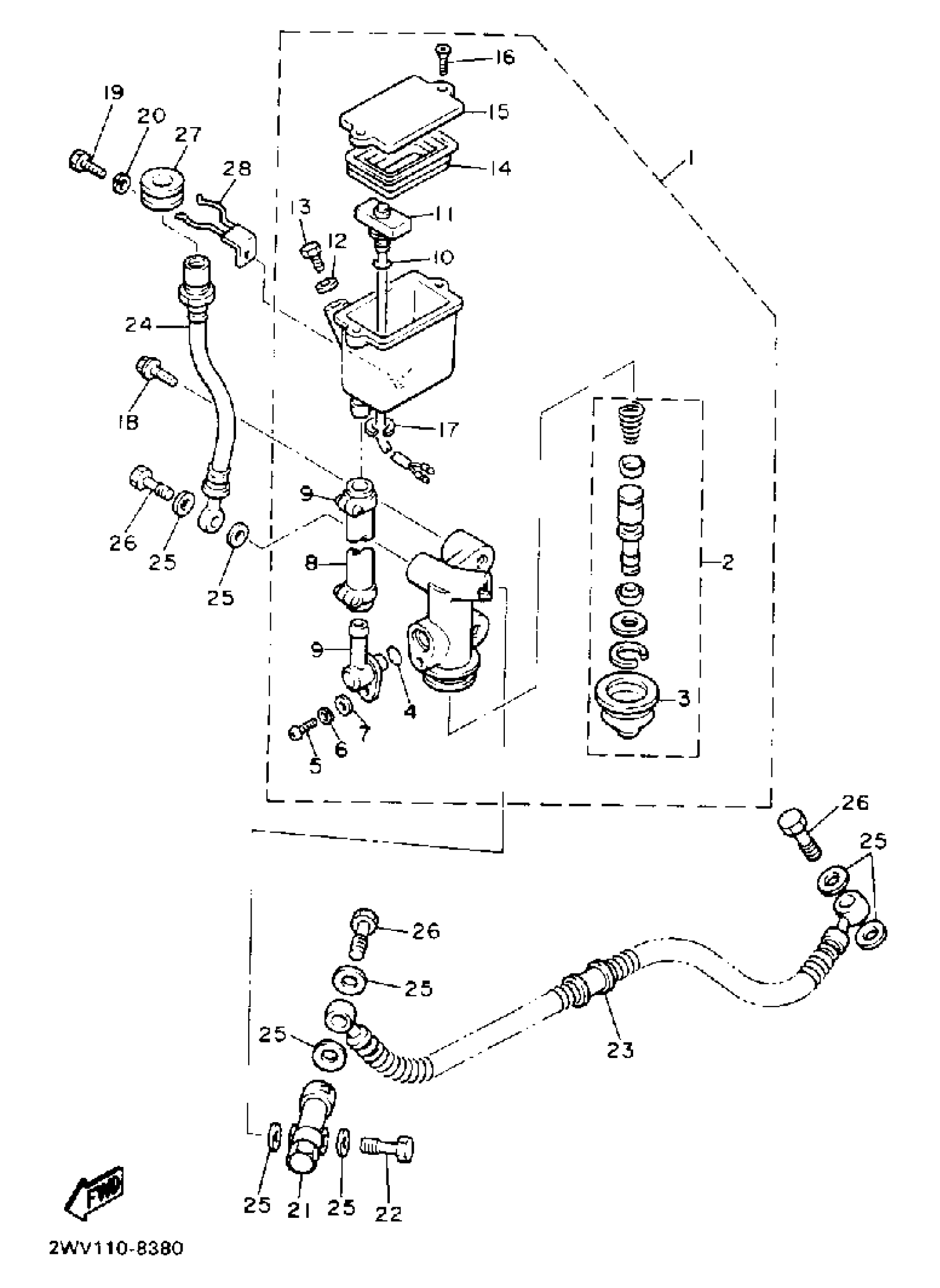
Yamaha XVZ13DWC (VENTURE ROYALE CA) 1989 REAR MASTER CYLINDER Diagram
#
Description
Price
1
MSTR CYLINDER ASY
3JT-2583V-00-00
Unavailable
3
. BOOT, master cylinder
1J3-25862-51-00
Unavailable
5
SCREW, PAN HEAD
98511-04012-00
Unavailable
8
. HOSE, reservoir
26H-25895-50-00
Unavailable
9
BAND, HOSE 11
90601-11062-00
Unavailable
10
. O-RING
93210-08493-00
Unavailable
11
. LEAD SWITCH ASS''Y
5G2-85702-00-00
Unavailable
12
. WASHER, plate
90201-10610-00
Unavailable
13
. SCREW, hexagon
90153-10015-00
Unavailable
14
. DIAPHRAGM, reservoir
1NL-25854-50-00
Unavailable
15
CAP, RESERVOIR
1NL-25852-51-00
Unavailable
16
SCREW, FLAT
98707-04012-00
Unavailable
17
CIRCLIP(J51)
99080-09600-00
Unavailable
18
BOLT, FLANGE(8AB)
95817-08020-00
Unavailable
19
BOLT, HEXAGON
97017-06020-00
Unavailable
20
WASHER, SPRING
92907-06100-00
Unavailable
21
VALVE, proportioning
1NL-25884-00-00
Unavailable
22
BOLT, UNION
90401-10038-00
Unavailable
23
HS,BRKE 1
99999-02792-00
Unavailable
24
HOSE,BRAKE
99999-02793-00
Unavailable
25
WASHER, PLATE(481)
90201-10118-00
Unavailable
26
BOLT, UNION(3GM)
90401-10159-00
Unavailable
27
PROTECTOR, BRAKE HOSE
341-25881-00-00
Unavailable
28
HOLDER, brake hose
26H-25887-50-00
Unavailable
