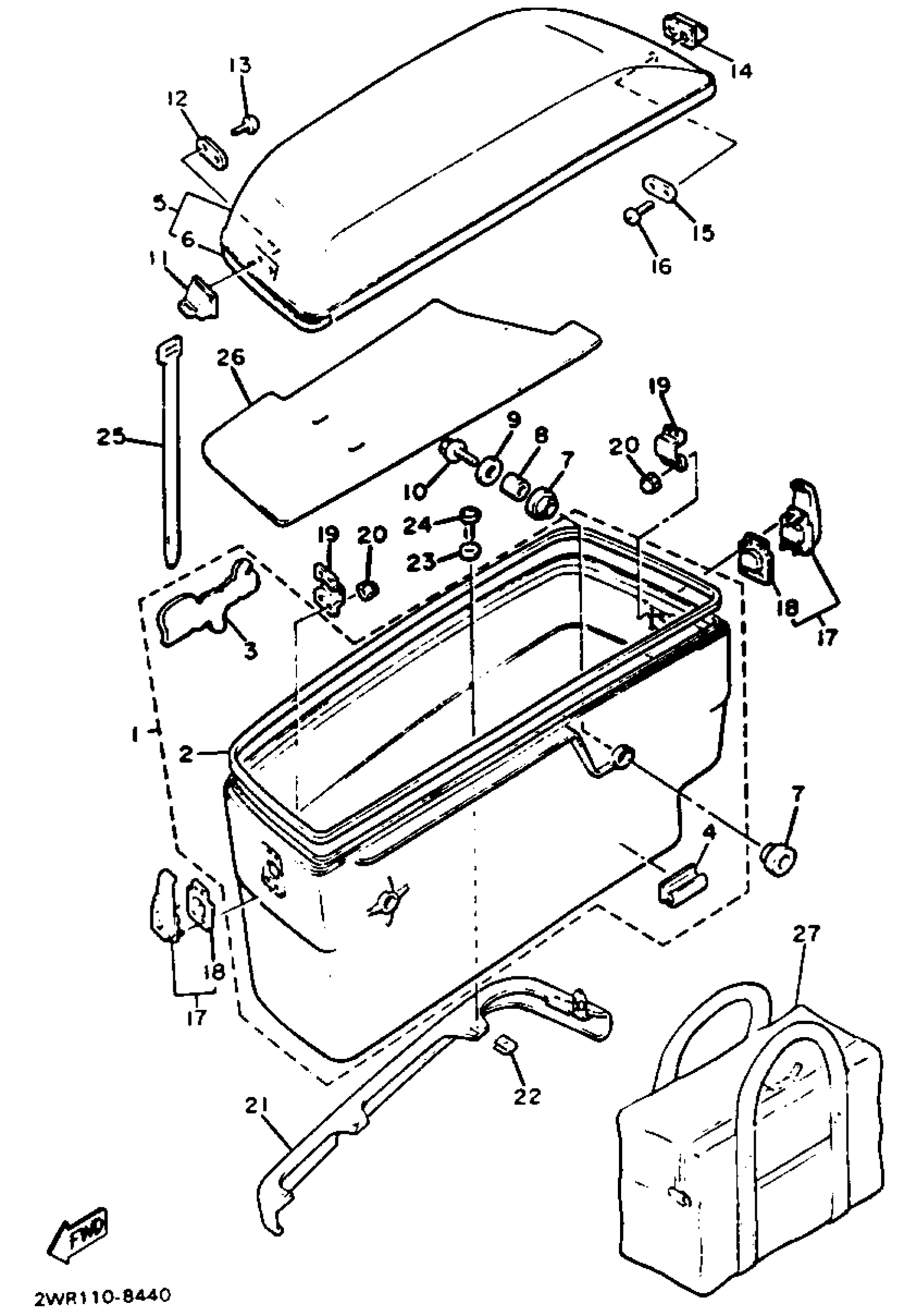
Yamaha XVZ13DUC (VENTURE ROYALE CA) 1988 SADDLEBAG 2 Diagram
#
Description
Price
1
SADDLEBAG 3
1NL-Y2848-00-JY
Unavailable
1
SADDLEBAG 3
1NL-Y2848-00-TL
Unavailable
2
. SEAL 1
1NL-28428-00-00
Unavailable
3
. EMBLEM 4
31M-2844A-01-00
Unavailable
5
SADDLEBAG 4
1NL-Y2849-00-EH
Unavailable
5
SADDLEBAG 4
1NL-Y2849-00-R0
Unavailable
6
. GRAPHIC 1 (CREAMY WHITE)
2WR-2841G-00-00
Unavailable
6
. GRAPHIC 1 (GRACEFUL MAROON)
2WR-2841G-10-00
Unavailable
8
COLLAR(82M)
90387-084R5-00
Unavailable
11
PLATE, rubber 1
1NL-Y284J-00-00
Unavailable
12
PLATE 2
1NL-28487-00-00
Unavailable
13
GASKET, EXHAUST
98507-05008-00
Unavailable
14
PLATE, rubber 2
1NL-Y284K-00-00
Unavailable
15
PLATE 2
1NL-28487-00-00
Unavailable
16
GASKET, EXHAUST
98507-05008-00
Unavailable
17
GRIP,SD-DLBG
1NL-28408-02-00
Unavailable
18
. SEAL 7
1NL-2849F-00-00
Unavailable
19
. COVER LOCK ASSEMBLY 2
1NL-28493-00-00
Unavailable
20
NUT, CAP
95307-05800-00
Unavailable
21
GUARD COMP. 2
1NL-2840M-00-00
Unavailable
22
NUT, SPRING
90183-051A0-00
Unavailable
23
WASHER, PLATE (26H)
90202-05147-00
Unavailable
24
SCREW, WITH WASHER(1NL)
90159-05134-00
Unavailable
25
BAND, tool
26H-21376-00-00
Unavailable
26
SEAT
1NL-2848H-00-00
Unavailable
27
BAG INNER 1
1NL-28479-01-00
Unavailable
