- Partiron
- OEM Parts
- Yamaha
- motorcycle
- 2008
- XVZ13CTSXC (ROYAL STAR TOUR DELUXE S CA) 1D6L 2008
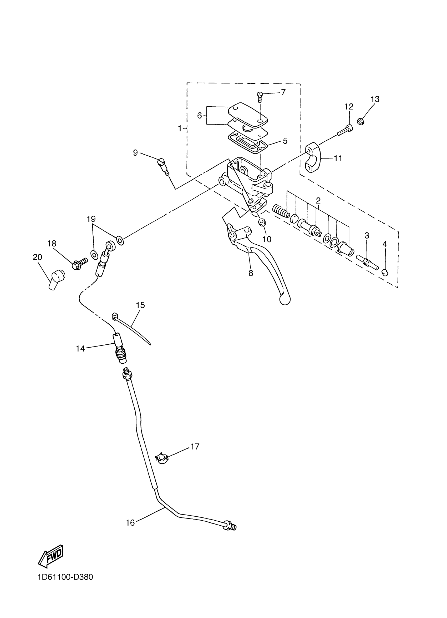
FRONT MASTER CYLINDER 2
Yamaha XVZ13CTSXC (ROYAL STAR TOUR DELUXE S CA) 1D6L 2008 FRONT MASTER CYLINDER 2 Diagram
#
Description
Price
1
MASTER CYLINDER SUB ASSY
4NK-W2645-10-00
Unavailable
2
CYLINDER KIT, MASTER (CLUTCH)
3GM-W0099-00-00
Unavailable
11
BRACKET, MASTER CYLINDER
4NK-25867-00-00
Unavailable
14
HOSE, CLUTCH 1
1D6-26472-00-00
Unavailable
16
PIPE
4XY-26471-00-00
Unavailable
17
CLAMP(4GY)
90464-10190-00
Unavailable
18
BOLT, UNION
90401-10020-00
Unavailable
19
GASKET
90430-10005-00
Unavailable
20
BOOT, MASTER CYLINDER
4L0-25862-01-00
Unavailable
