- Partiron
- OEM Parts
- Yamaha
- motorcycle
- 2006
- XVZ13CTMVC (ROYAL STAR MIDNIGHT TOUR DELUXE CA) 1D68 2006
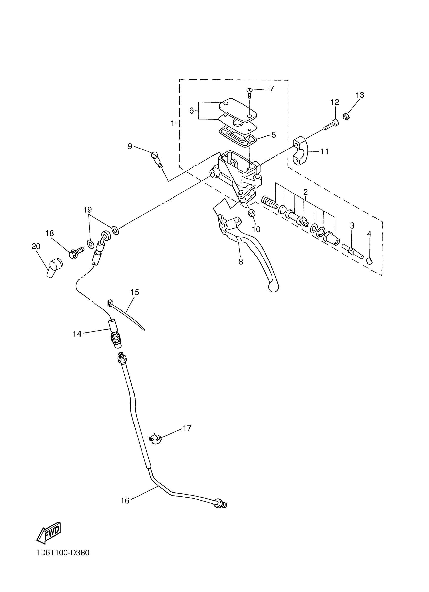
FRONT MASTER CYLINDER 2
Yamaha XVZ13CTMVC (ROYAL STAR MIDNIGHT TOUR DELUXE CA) 1D68 2006 FRONT MASTER CYLINDER 2 Diagram
#
Description
Price
2
CYLINDER KIT, MASTER (CLUTCH)
3GM-W0099-00-00
Unavailable
6
RESERVOIR CAP SET
4NK-W2585-01-00
Unavailable
11
BRACKET, MASTER CYLINDER
4NK-25867-00-00
Unavailable
14
HOSE, CLUTCH 1
1D6-26472-00-00
Unavailable
16
PIPE
4XY-26471-00-00
Unavailable
17
CLAMP(4GY)
90464-10190-00
Unavailable
18
BOLT, UNION(3GM)
90401-10159-00
Unavailable
19
WASHER, PLATE(481)
90201-10118-00
Unavailable
20
BOOT, MASTER CYLINDER
4L0-25862-01-00
Unavailable
