- Partiron
- OEM Parts
- Yamaha
- motorcycle
- 1999
- XVZ13ATLC (ROYAL STAR TOUR CLASSIC CA) 5EJ6 1999
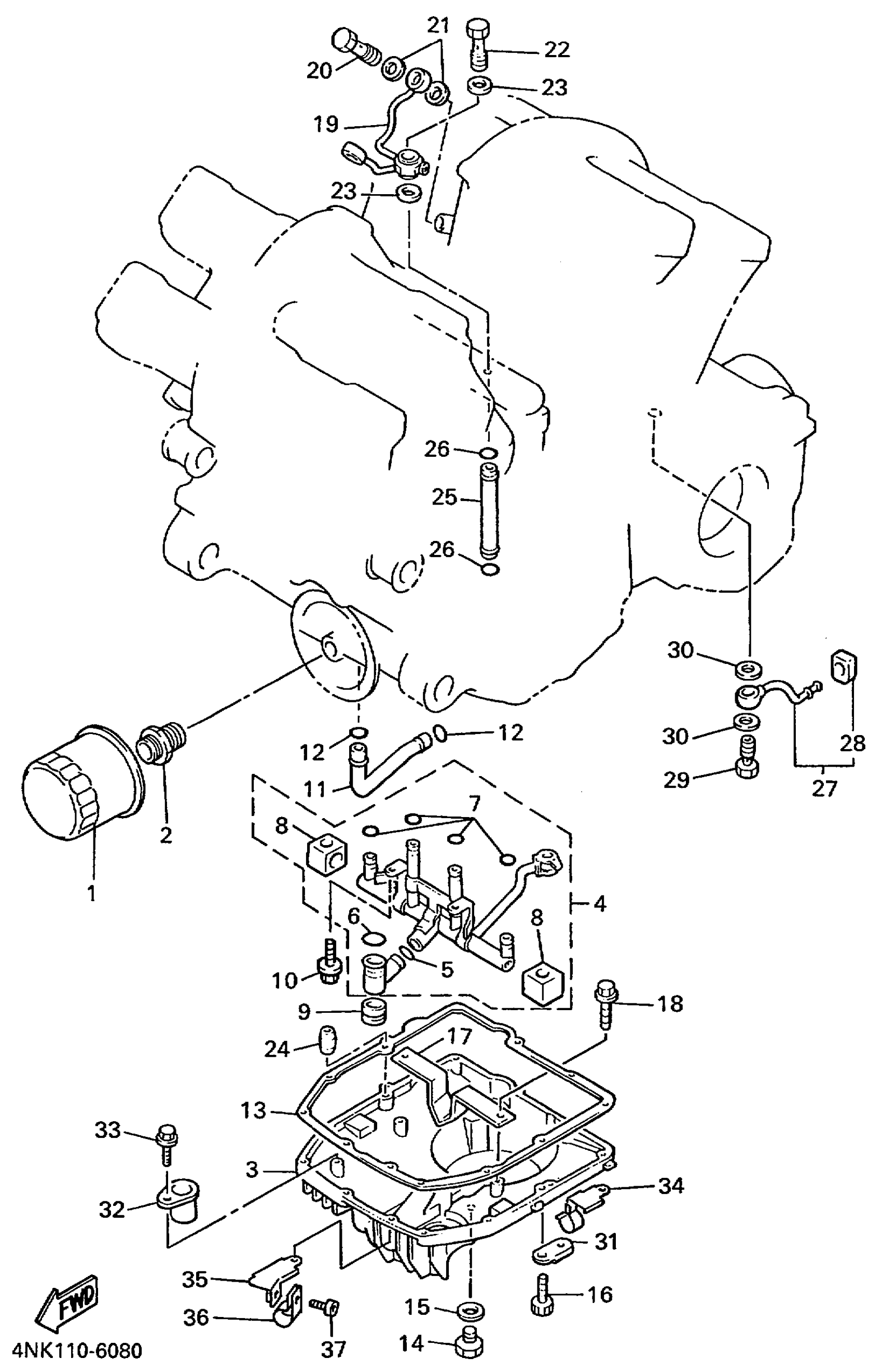
OIL CLEANER
Yamaha XVZ13ATLC (ROYAL STAR TOUR CLASSIC CA) 5EJ6 1999 OIL CLEANER Diagram
#
Description
Price
2
BOLT, UNION
90401-20007-00
Unavailable
3
COVER, STRAINER
26H-13417-01-00
Unavailable
4
DELIVERY PIPE ASS'Y
26H-Y1319-10-00
Unavailable
9
GROMMET
26H-15366-01-00
Unavailable
16
BOLT, HEXAGON SOCKET HEAD(1VJ)
90110-06138-00
Unavailable
17
PLATE, BAFFLE LOWER
26H-13337-01-00
Unavailable
19
PIPE, DELIVERY 3
26H-13181-03-00
Unavailable
20
BOLT, UNION
90401-08006-00
Unavailable
21
GASKET
90430-08119-00
Unavailable
22
BOLT, UNION(1FK)
90401-10108-00
Unavailable
23
WASHER PLATE 341839090000
90201-10128-00
Unavailable
24
PIN, DOWEL(3XW)
91808-16023-00
Unavailable
25
PIPE, DELIVERY 2
26H-13171-00-00
Unavailable
27
PIPE, OIL 1
26H-13416-01-00
Unavailable
28
GASKET
26H-13476-00-00
Unavailable
29
BOLT, UNION (26H)
90401-08093-00
Unavailable
30
GASKET
90430-08119-00
Unavailable
31
CLAMP(4MX)
90465-06376-00
Unavailable
32
STAY
1FK-13151-00-00
Unavailable
34
CLAMP(4NK)
90462-10226-00
Unavailable
35
STAY
4NK-13782-00-00
Unavailable
36
CLAMP
90464-15014-00
Unavailable
37
BOLT, SOCKET
91317-05010-00
Unavailable
