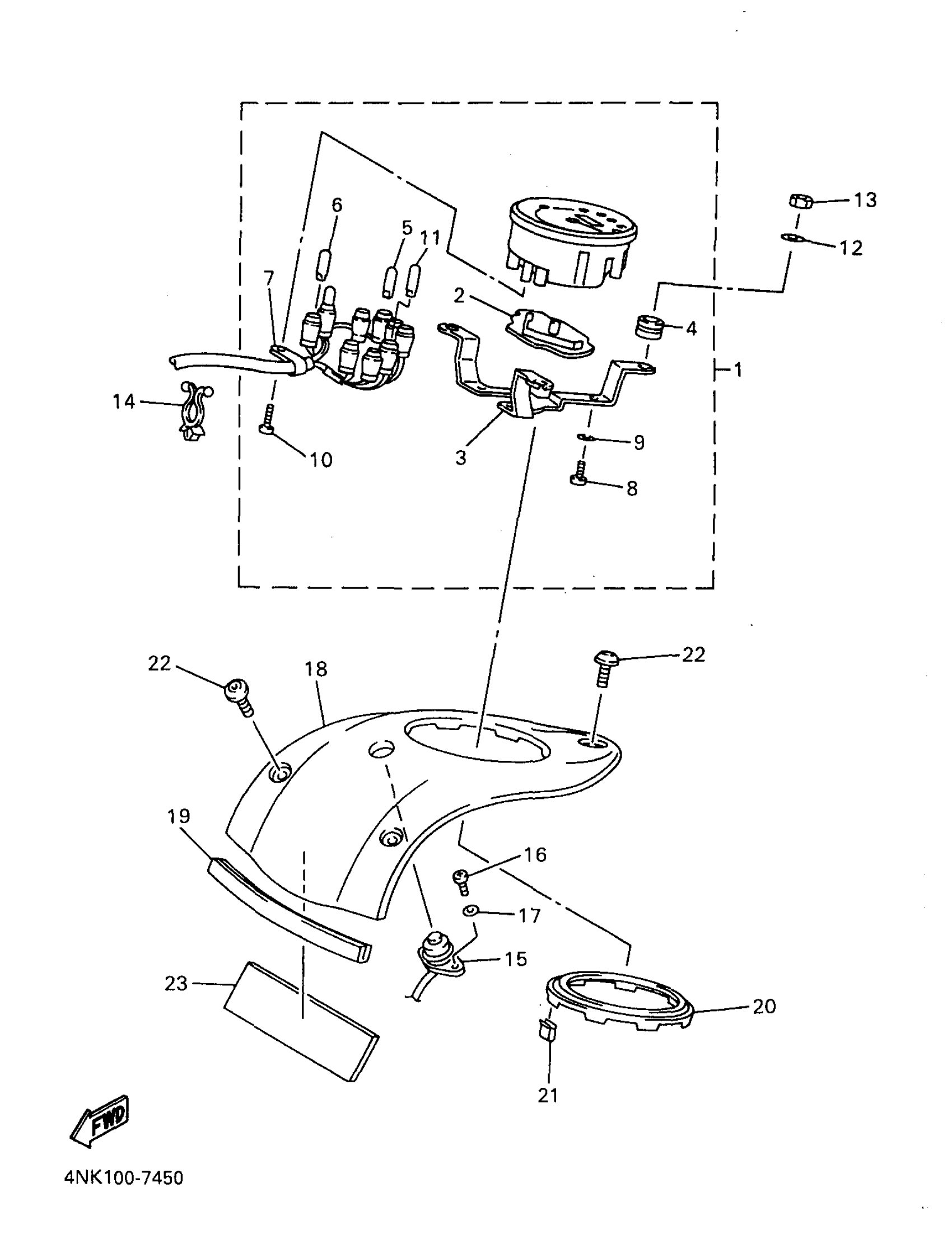
Yamaha XVZ13ATJC (ROYAL STAR TOUR CLASSIC CA) 1997 METER Diagram
#
Description
Price
1
SPEEDOMETER ASSEMBLY
4NK-83500-20-00
Unavailable
3
. BRACKET, METER
4NK-83519-00-00
Unavailable
4
DAMPER
4NK-83523-00-00
Unavailable
6
BULB (12V-1.4W, T6.5)
4NK-83517-00-00
Unavailable
7
CLAMP
4NK-8357E-00-00
Unavailable
10
SCREW, TRUSS TAP.
97707-40012-00
Unavailable
16
SCREW, PAN
98517-05012-00
Unavailable
17
WASHER(1RW)
92907-05600-00
Unavailable
18
COVER, METER
4NK-83559-00-00
Unavailable
19
MOLE 1
4NK-28345-00-00
Unavailable
20
MOLE 2
4NK-28346-00-00
Unavailable
21
GUIDE
1FK-2171H-00-00
Unavailable
22
SCREW(1XL)
90149-06264-00
Unavailable
23
DAMPER
11H-21747-00-00
Unavailable
