- Partiron
- OEM Parts
- Yamaha
- motorcycle
- 1998
- XVZ13AKC (ROYAL STAR CA) 1998
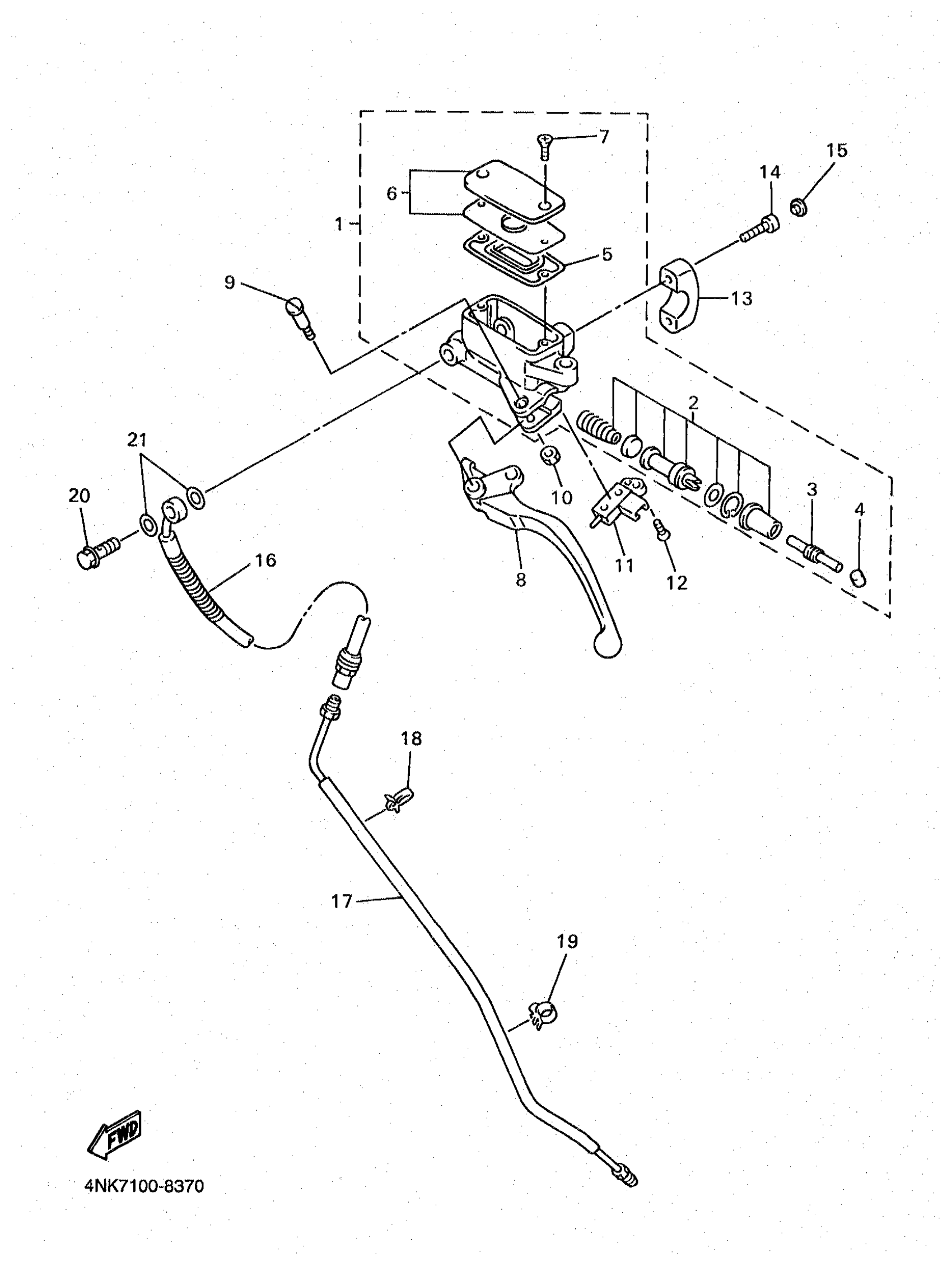
FRONT MASTER CYLINDER 2
Yamaha XVZ13AKC (ROYAL STAR CA) 1998 FRONT MASTER CYLINDER 2 Diagram
#
Description
Price
2
CYLINDER KIT, MASTER (CLUTCH)
3GM-W0099-00-00
Unavailable
6
RESERVOIR CAP SET
4NK-W2585-01-00
Unavailable
8
LEVER 1
4NK-83912-00-00
Unavailable
13
BRACKET, MASTER CYLINDER
4NK-25867-00-00
Unavailable
16
HOSE, CLUTCH 1
4NK-26472-00-00
Unavailable
17
PIPE
4NK-26471-00-00
Unavailable
18
CLAMP(3SK)
90464-13133-00
Unavailable
19
CLAMP(4GY)
90464-10190-00
Unavailable
20
BOLT, UNION
90401-10172-00
Unavailable
21
WASHER, PLATE(481)
90201-10118-00
Unavailable
