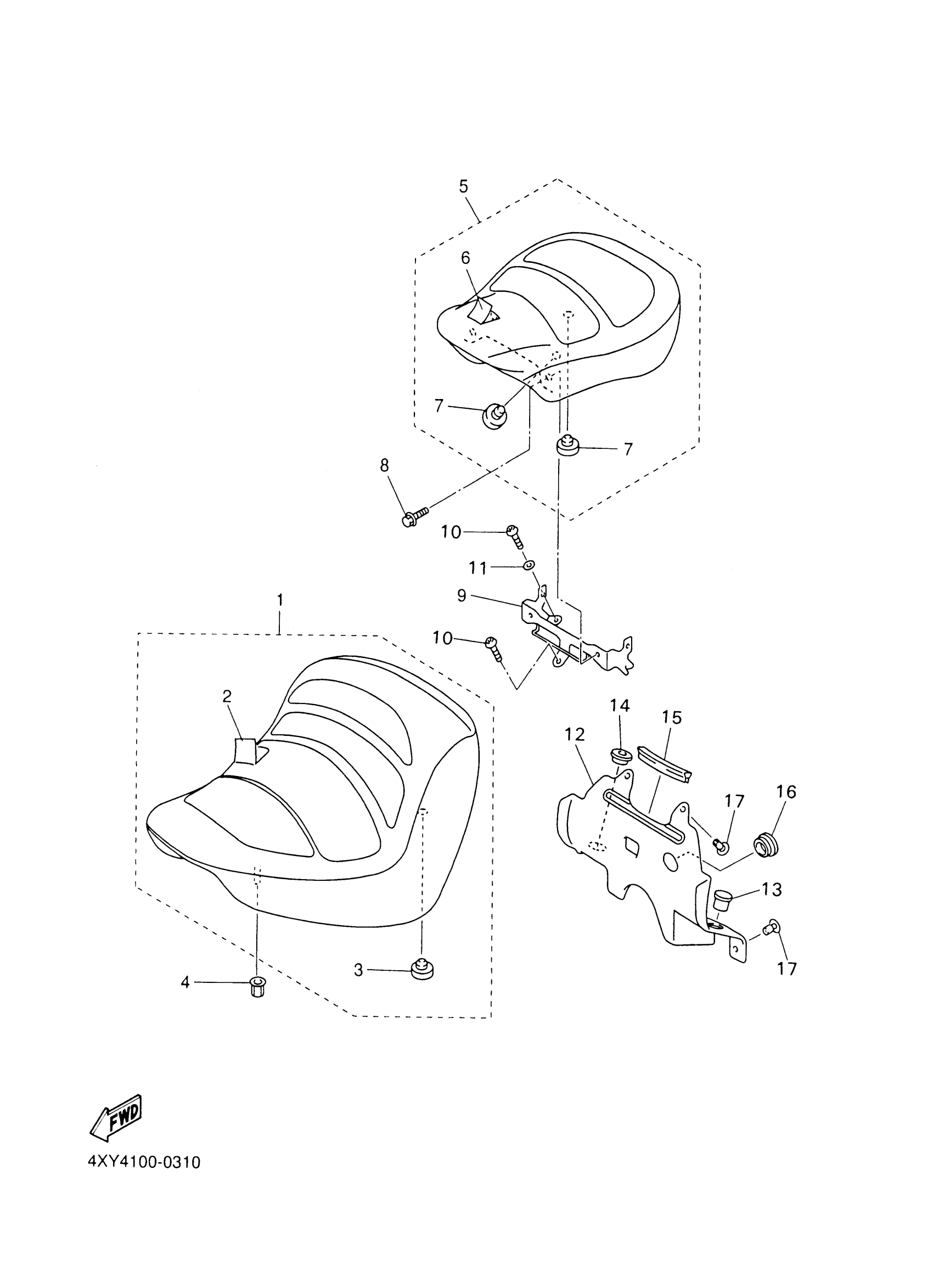
Yamaha XVZ1300TFMC (ROYAL STAR VENTURE CA) 4XY5 2000 SEAT Diagram
#
Description
Price
1
SINGLE SEAT ASSY
4XY-24710-00-00
Unavailable
2
. COVER, SINGLE SEAT
4XY-24711-00-00
Unavailable
5
TANDEM SEAT ASSY
4XY-24750-00-00
Unavailable
6
. COVER, TANDEM SEAT
4XY-24751-00-00
Unavailable
8
BOLT, FLANGE
95817-06014-00
Unavailable
9
BRACKET, SEAT LEVER 1
4XY-2475H-10-00
Unavailable
12
COVER
4XY-24796-00-00
Unavailable
14
HOLDER 1
4XY-24847-00-00
Unavailable
15
SEAL
4XY-2475M-00-00
Unavailable
16
PLUG(MG5)
90338-28239-00
Unavailable
17
RIVET
90269-06001-00
Unavailable
