- Partiron
- OEM Parts
- Yamaha
- motorcycle
- 2000
- XVZ1300LTMC (ROYAL STAR TOUR DELUXE CA) 4YEE 2000
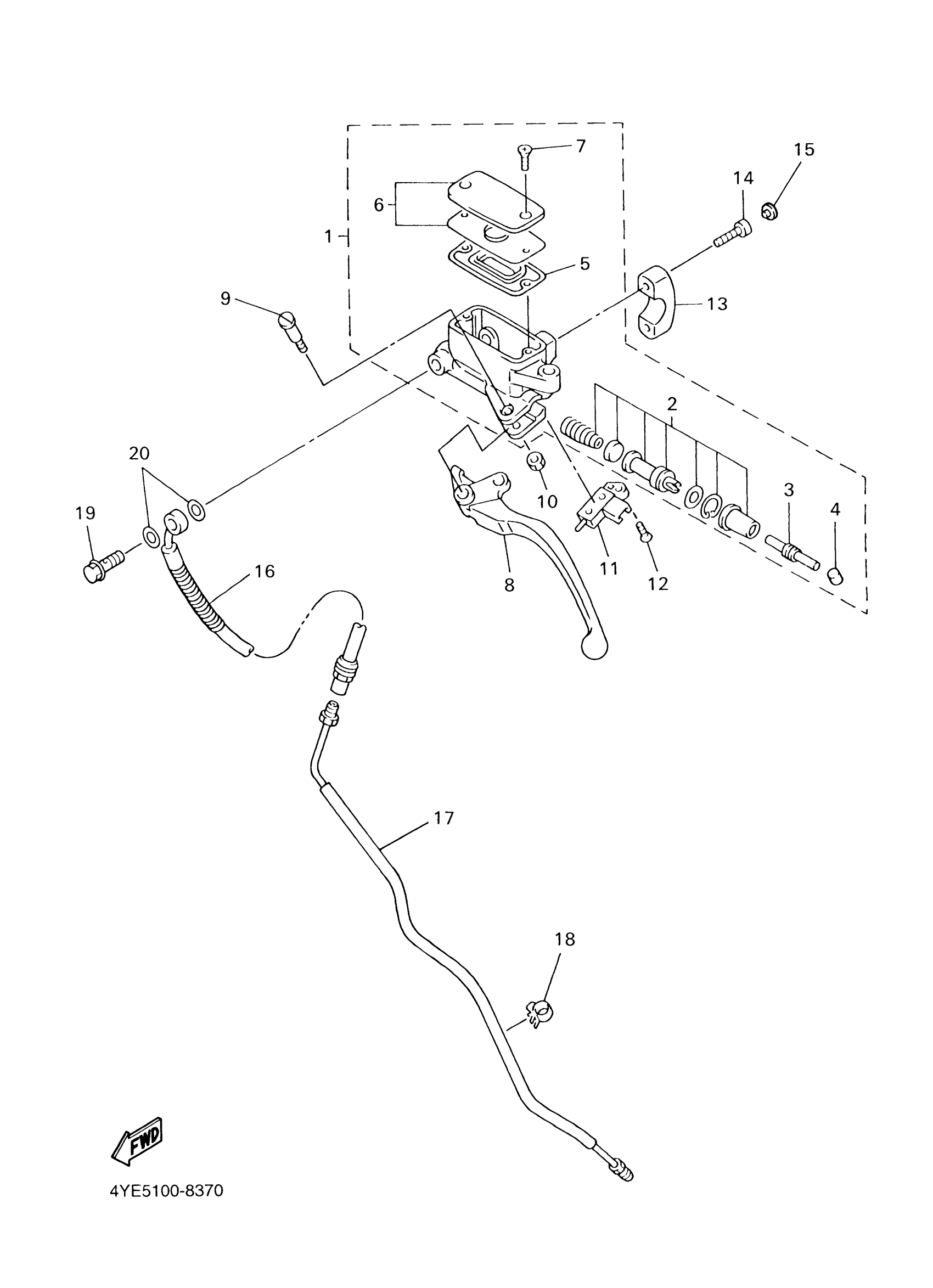
FRONT MASTER CYLINDER 2
Yamaha XVZ1300LTMC (ROYAL STAR TOUR DELUXE CA) 4YEE 2000 FRONT MASTER CYLINDER 2 Diagram
#
Description
Price
2
CYLINDER KIT, MASTER (CLUTCH)
3GM-W0099-00-00
Unavailable
6
RESERVOIR CAP SET
4NK-W2585-01-00
Unavailable
8
LEVER 1
4XY-83912-00-00
Unavailable
13
BRACKET, MASTER CYLINDER
4NK-25867-00-00
Unavailable
16
HOSE, CLUTCH 1
4NK-26472-00-00
Unavailable
17
PIPE
4YE-26471-00-00
Unavailable
18
CLAMP(4GY)
90464-10190-00
Unavailable
19
BOLT, UNION(3GM)
90401-10159-00
Unavailable
20
WASHER, PLATE(481)
90201-10118-00
Unavailable
