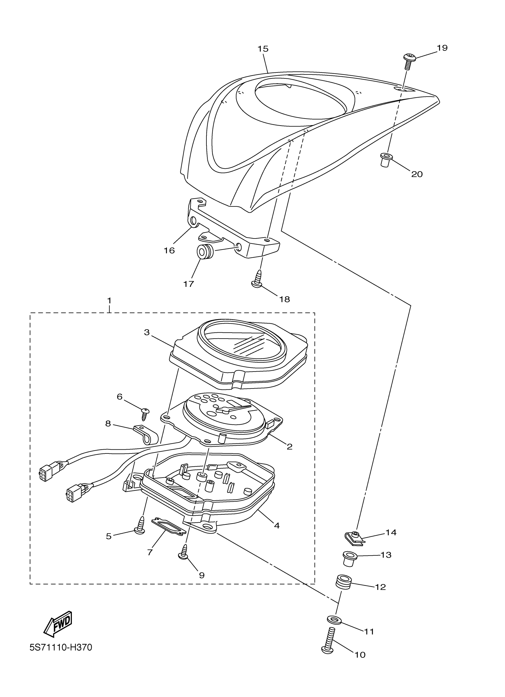
Yamaha XVS95ZR (V STAR 950) 49B4 2010 METER Diagram
#
Description
Price
1
METER ASSY
5S7-83500-00-00
Unavailable
2
SPEEDOMETER ASSY
5S7-83510-00-00
Unavailable
3
CASE, METER UPPER
5VN-8353E-20-00
Unavailable
4
CASE, METER LOWER
4WM-8353F-02-00
Unavailable
6
SCREW, TAPPING(71E)
90164-04023-00
Unavailable
11
WASHER, PLATE
90201-061AS-00
Unavailable
15
COVER, METER
5S7-83559-01-00
Unavailable
16
STAY
5S7-24216-00-00
Unavailable
17
GROMMET(2GH)
90480-12475-00
Unavailable
18
SCREW, TRUSS TAP.
97707-50014-00
Unavailable
19
BOLT
90111-05007-00
Unavailable
20
NUT(1KT)
90179-05523-00
Unavailable
