Yamaha XVS95CTYR (V STAR 950 TOURER) 49C10 2009 HEADLIGHT Diagram
#
Description
Price
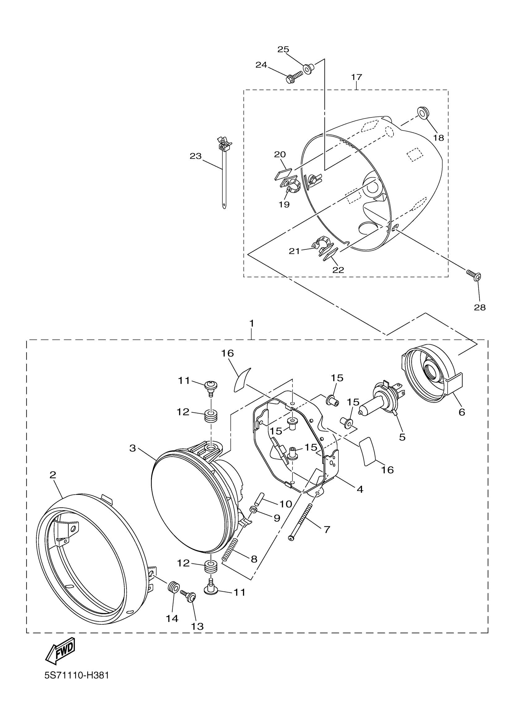
16
SEAL
5PX-21669-01-00
Unavailable
17
BODY ASSY
5S7-84330-00-P0
Unavailable
17
BODY ASSY
5S7-84330-00-P4
Unavailable
18
DAMPER, HEADLIGHT 1
42X-84366-00-00
Unavailable
19
CLAMP
90464-20020-00
Unavailable
20
SEAL
5S7-28307-00-00
Unavailable
21
CLAMP
90464-17002-00
Unavailable
22
SEAL 1
5S7-28428-00-00
Unavailable
23
CLAMP
90465-13M76-00
Unavailable
24
BOLT, FLANGE
95022-06025-00
Unavailable
25
COLLAR
90387-06175-00
Unavailable
26
SCREW, BIND(4DN)
98980-05014-00
Unavailable
