Yamaha XVS95CTAR (V STAR 950 TOURER) 26S70 2011 HEADLIGHT Diagram
#
Description
Price
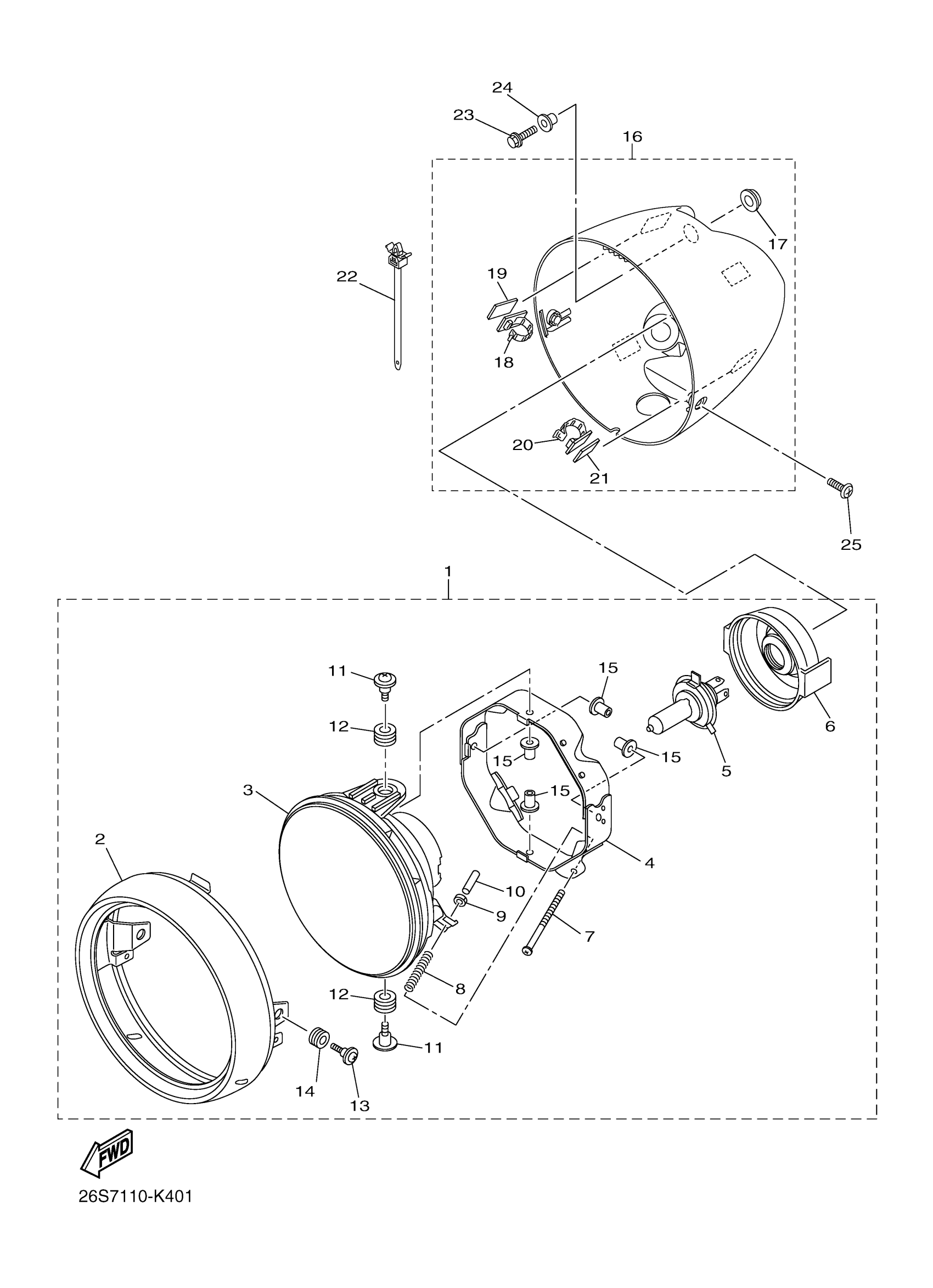
16
BODY ASSY
5S7-84330-10-00
Unavailable
17
DAMPER, HEADLIGHT 1
42X-84366-00-00
Unavailable
18
CLAMP
90464-20020-00
Unavailable
19
SEAL
5S7-28307-00-00
Unavailable
20
CLAMP
90464-17002-00
Unavailable
21
SEAL 1
5S7-28428-00-00
Unavailable
22
CLAMP
90465-13M76-00
Unavailable
23
BOLT, FLANGE
95022-06025-00
Unavailable
24
COLLAR
90387-06175-00
Unavailable
25
SCREW, BIND(4DN)
98980-05014-00
Unavailable
