Yamaha XVS95CSCB (BOLT R SPEC CA) BDUG 2025 INTAKE 1 Diagram
#
Description
Price
4
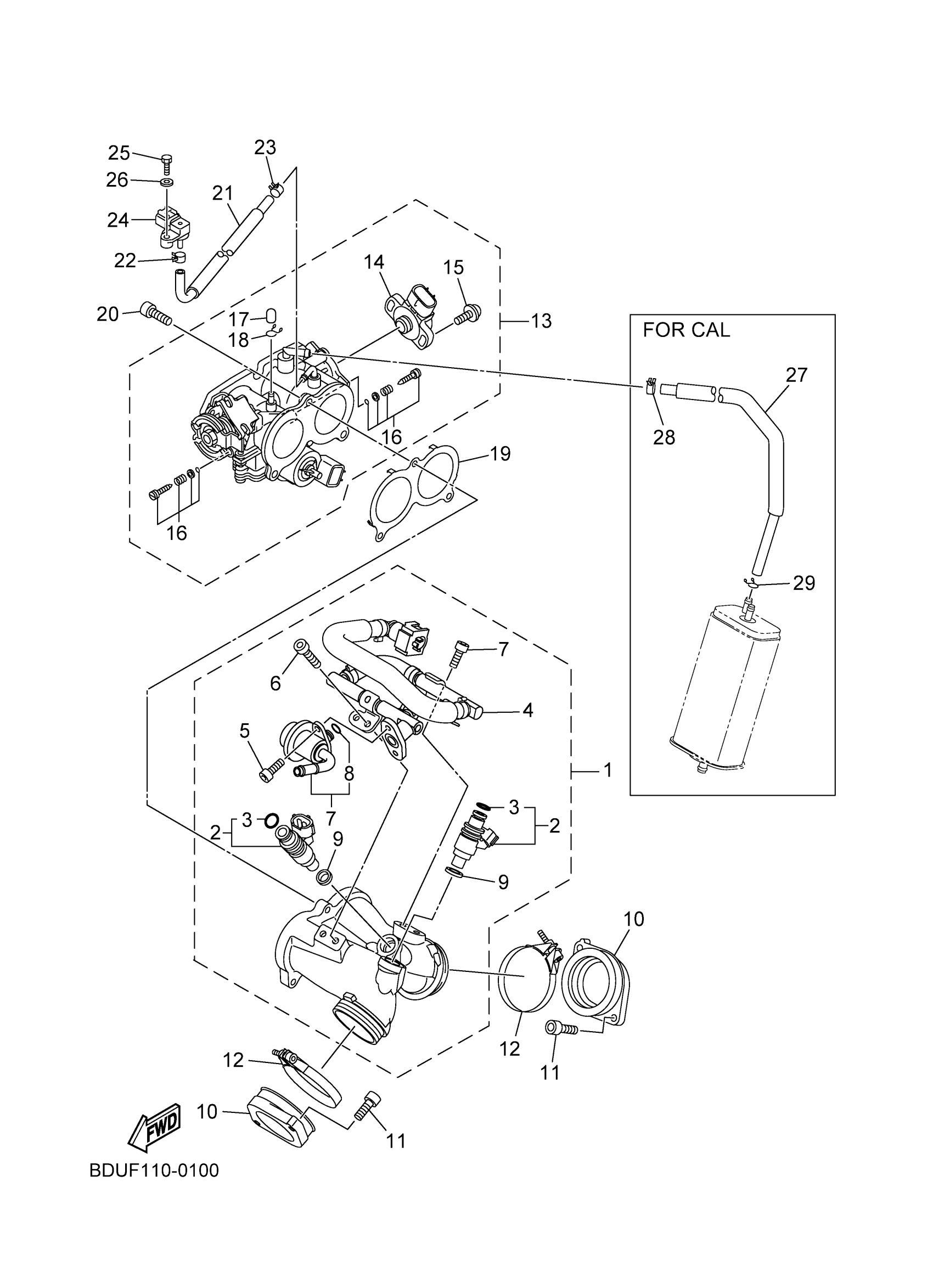
PIPE INLET ASSEMBLY
1TP-13930-00-00
Unavailable
13
THROTTLE BODY ASSY
1TP-13750-03-00
Unavailable
16
AIR SCREW SET
3D8-14104-00-00
Unavailable
17
CAP
895-14169-00-00
Unavailable
18
CLIP, PIPE
8A7-14139-00-00
Unavailable
19
SEAL
BL3-14467-00-00
Unavailable
21
HOSE, AIR
1TP-13895-00-00
Unavailable
22
CLIP(42X)
90467-07093-00
Unavailable
23
CLIP(41W)
90467-08092-00
Unavailable
24
SENSOR, PRESSURE
5S7-82380-00-00
Unavailable
25
BOLT(3JK)
97027-05020-00
Unavailable
26
WASHER, PLAIN (646)
92990-05600-00
Unavailable
