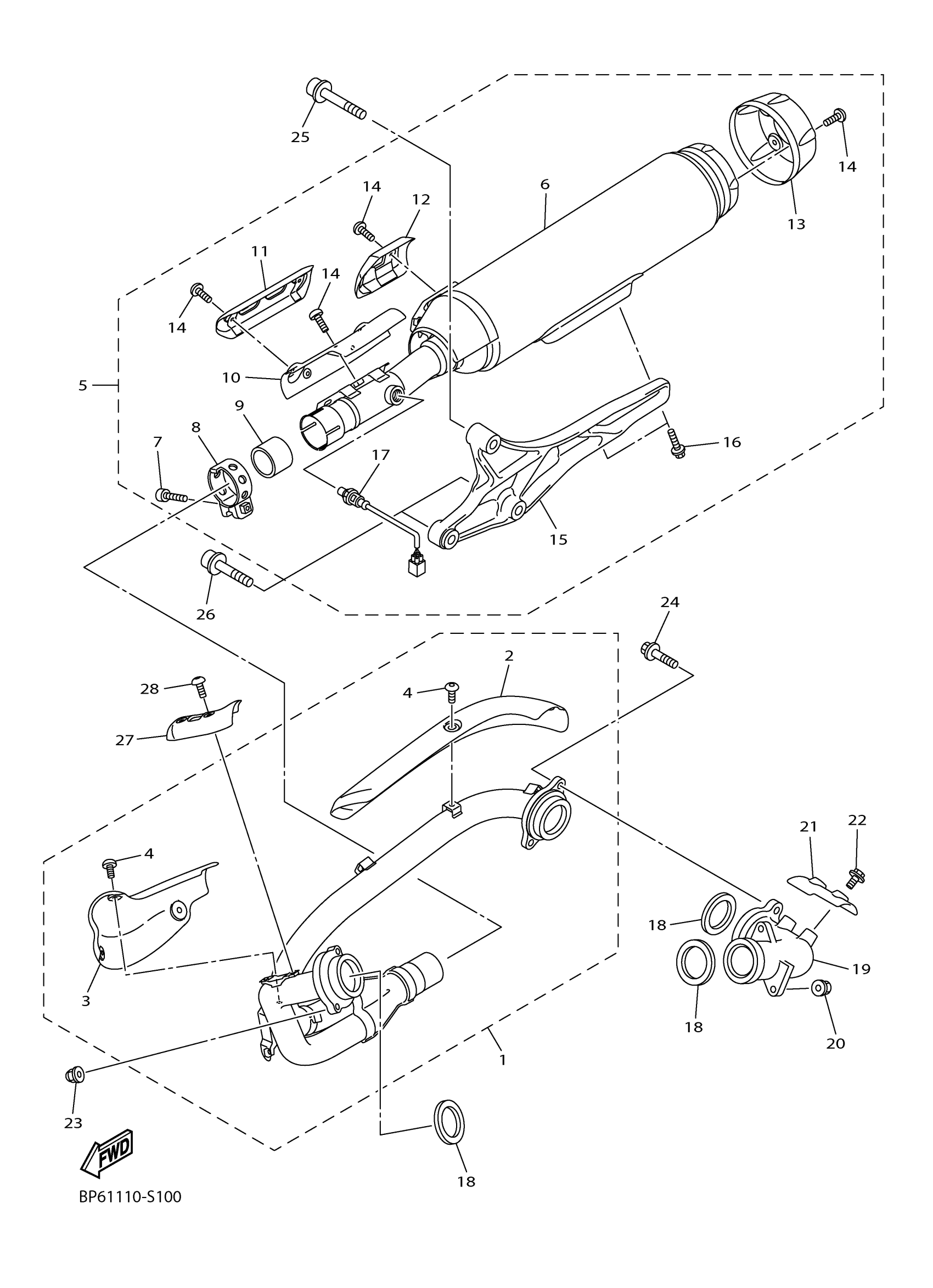
Yamaha XVS95CMCB (BOLT R-SPEC CA) BS5V 2021 EXHAUST Diagram
#
Description
Price
1
EXHAUST PIPE ASSY 1
1TP-14610-10-00
Unavailable
3
PLATE, PROTECTOR 3
1TP-1465U-00-00
Unavailable
8
BAND, MUFFLER
5S7-14715-00-00
Unavailable
10
PROTECTOR, MUFFLER 2
1TP-14728-00-00
Unavailable
11
PROTECTOR, MUFFLER 3
1TP-14738-00-00
Unavailable
12
PROTECTOR, MUFFLER 4
1TP-14748-00-00
Unavailable
13
CAP
1TP-14799-01-00
Unavailable
15
STAY, MUFFLER 2
1TP-14772-00-00
Unavailable
16
BOLT, FLANGE(4TV)
95814-10025-00
Unavailable
17
SENSOR
5D1-8592A-00-00
Unavailable
18
GASKET, EXHAUST PIPE
3EG-14613-00-00
Unavailable
19
JOINT, EXHAUST 1
1TP-14615-00-00
Unavailable
20
NUT, CROWN
90176-08012-00
Unavailable
21
PLATE, SILENCER 3
1TP-1468W-00-00
Unavailable
22
BOLT, FLANGE(7HT)
95880-06010-00
Unavailable
23
NUT, CROWN
90176-08006-00
Unavailable
24
BOLT, FLANGE
90105-08251-00
Unavailable
25
BOLT, HEXAGON SOCKET HEAD
90110-10042-00
Unavailable
26
BOLT, HEXAGON SOCKET HEAD
90110-10038-00
Unavailable
27
PLATE, PROTECTOR 1
1TP-1465R-01-00
Unavailable
