Yamaha XVS95CHS (BOLT R SPEC) BS510 2017 SIDE COVER Diagram
#
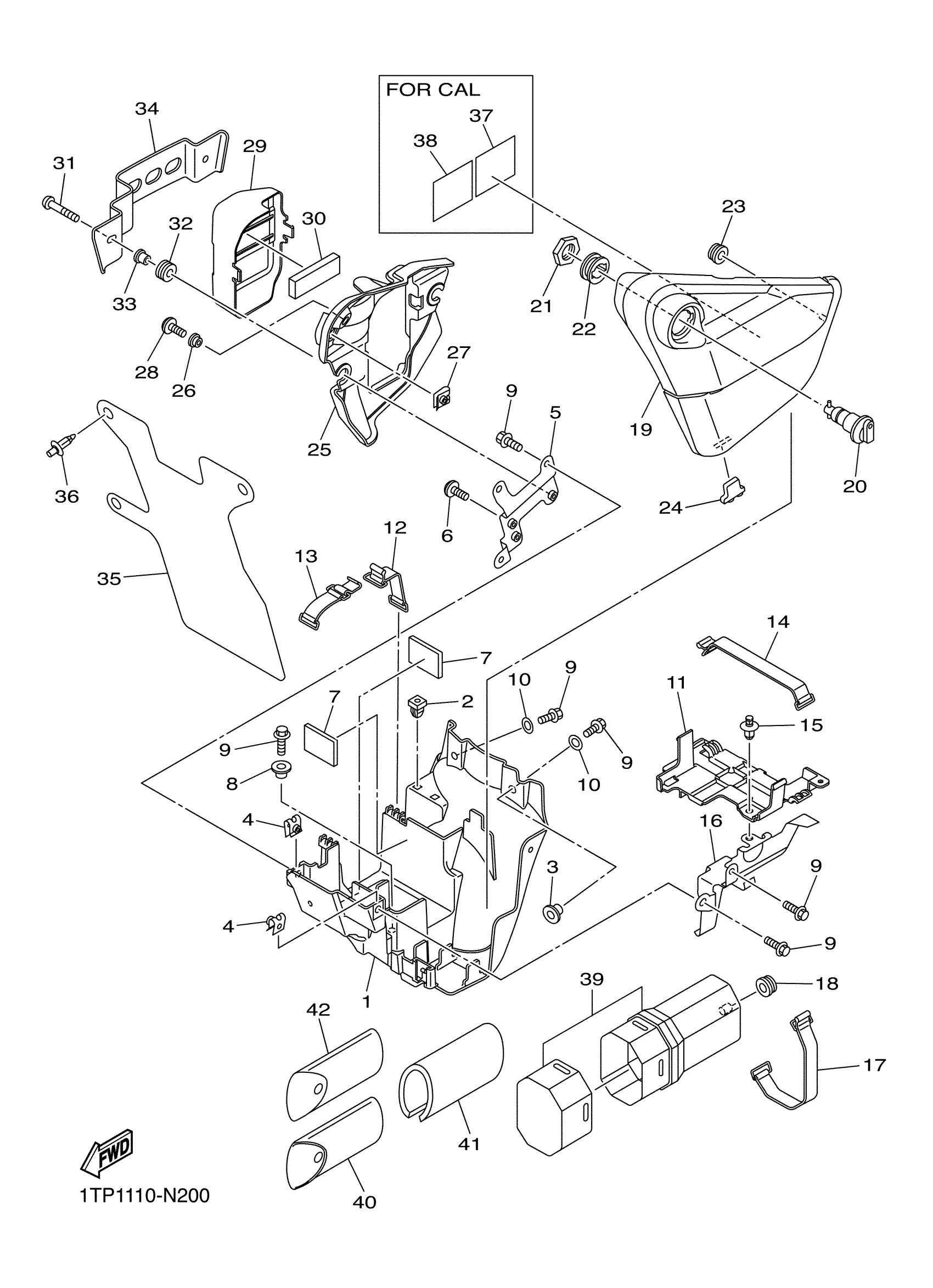
1
BOX, BATTERY
1TP-2177G-00-00
Unavailable
2
GROMMET
90480-07003-00
Unavailable
3
COLLAR
90387-06239-00
Unavailable
5
STAY, SIDE COVER 1
1TP-2172E-00-00
Unavailable
7
DAMPER
5S7-2139X-00-00
Unavailable
8
COLLAR
90387-06267-00
Unavailable
11
BOX
1TP-2177A-01-00
Unavailable
13
BAND, BATTERY
1TP-82131-00-00
Unavailable
16
HOLDER, TOOL
1TP-28170-00-00
Unavailable
18
GROMMET
90480-20001-00
Unavailable
19
COVER, SIDE 1
1TP-21711-00-00
Unavailable
20
SIDE COVER LOCK ASSY
55K-21708-00-00
Unavailable
21
NUT, HEXAGON (1E6)
90170-22187-00
Unavailable
22
GROMMET (1E6)
90480-24186-00
Unavailable
23
GROMMET
90480-13014-00
Unavailable
24
DAMPER, SIDE COVER
2N4-21717-00-00
Unavailable
25
COVER, SIDE 2
1TP-21721-00-00
Unavailable
26
COLLAR
90387-06173-00
Unavailable
28
BOLT
90111-06038-00
Unavailable
29
COVER, BATTERY
1TP-2124E-00-00
Unavailable
30
DAMPER, LOCATING 1
4D3-24181-00-00
Unavailable
31
BOLT
90111-06030-00
Unavailable
32
GROMMET
90480-14003-00
Unavailable
33
COLLAR(4JW)
90387-0602X-00
Unavailable
34
PLATE
1TP-2176E-00-00
Unavailable
35
COVER
1TP-2172W-00-00
Unavailable
36
RIVET
90269-06008-00
Unavailable
37
PLATE, ROUTING 2
5RU-21686-00-00
Unavailable
38
PLATE, ROUTING
34B-21684-00-00
Unavailable
39
TOOL BOX COMP.
BL3-21107-00-00
Unavailable
40
TOOL KIT
3D8-28100-11-00
Unavailable
41
DAMPER, PLATE
90520-08003-00
Unavailable
42
TOOL KIT 2
1TP-28110-01-00
Unavailable
