- Partiron
- OEM Parts
- Yamaha
- motorcycle
- 2004
- XVS65ASC (V STAR CLASSIC CA) 5SCL 2004
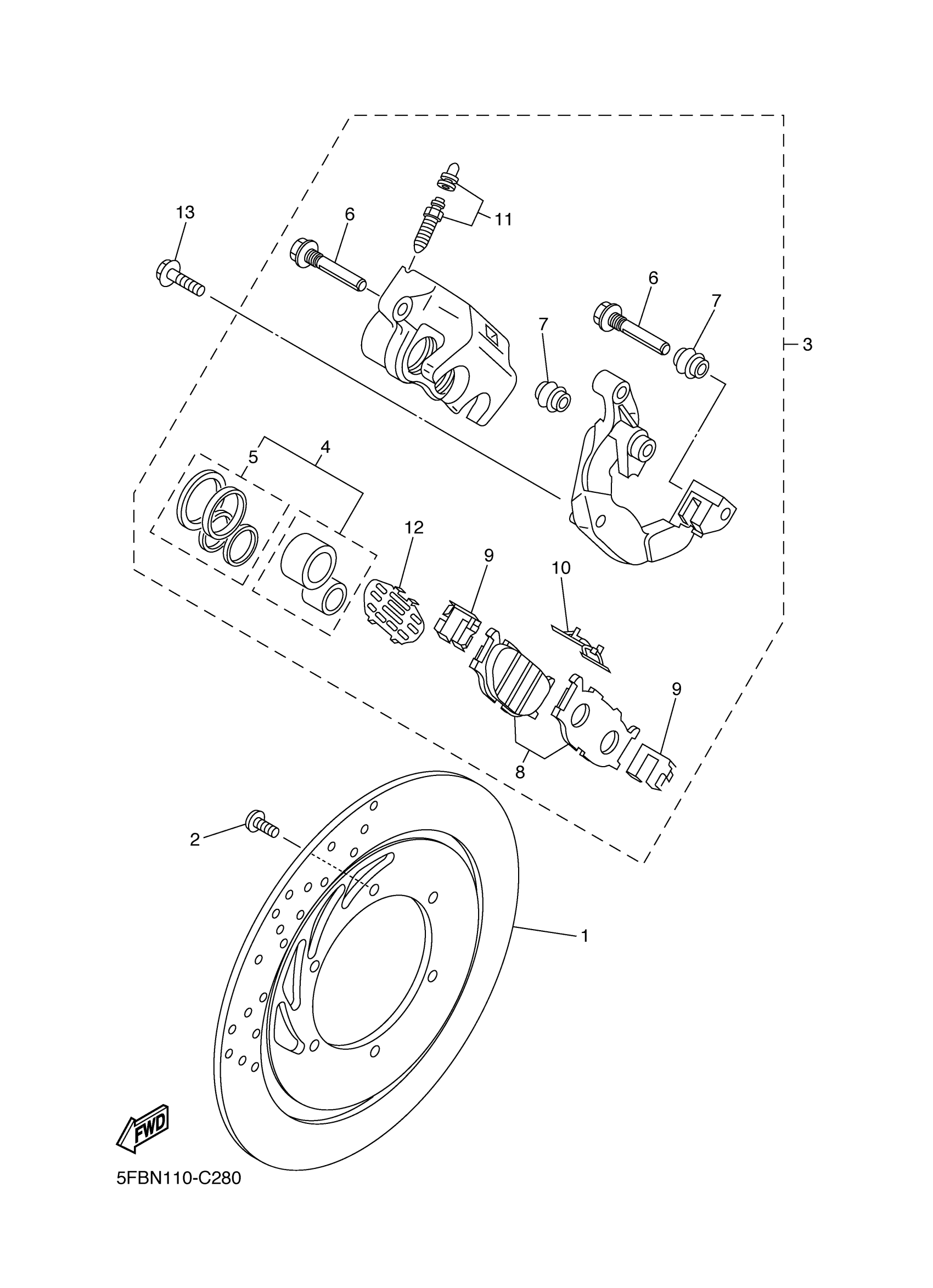
FRONT BRAKE CALIPER
Yamaha XVS65ASC (V STAR CLASSIC CA) 5SCL 2004 FRONT BRAKE CALIPER Diagram
#
Description
Price
10
SPRING, ANTI RATTLE
3YX-25929-00-00
Unavailable
12
SHIM, CALIPER
5BN-25827-00-00
Unavailable
