- Partiron
- OEM Parts
- Yamaha
- motorcycle
- 2003
- XVS650RC (V-STAR CUSTOM CA) 5FBL 2003
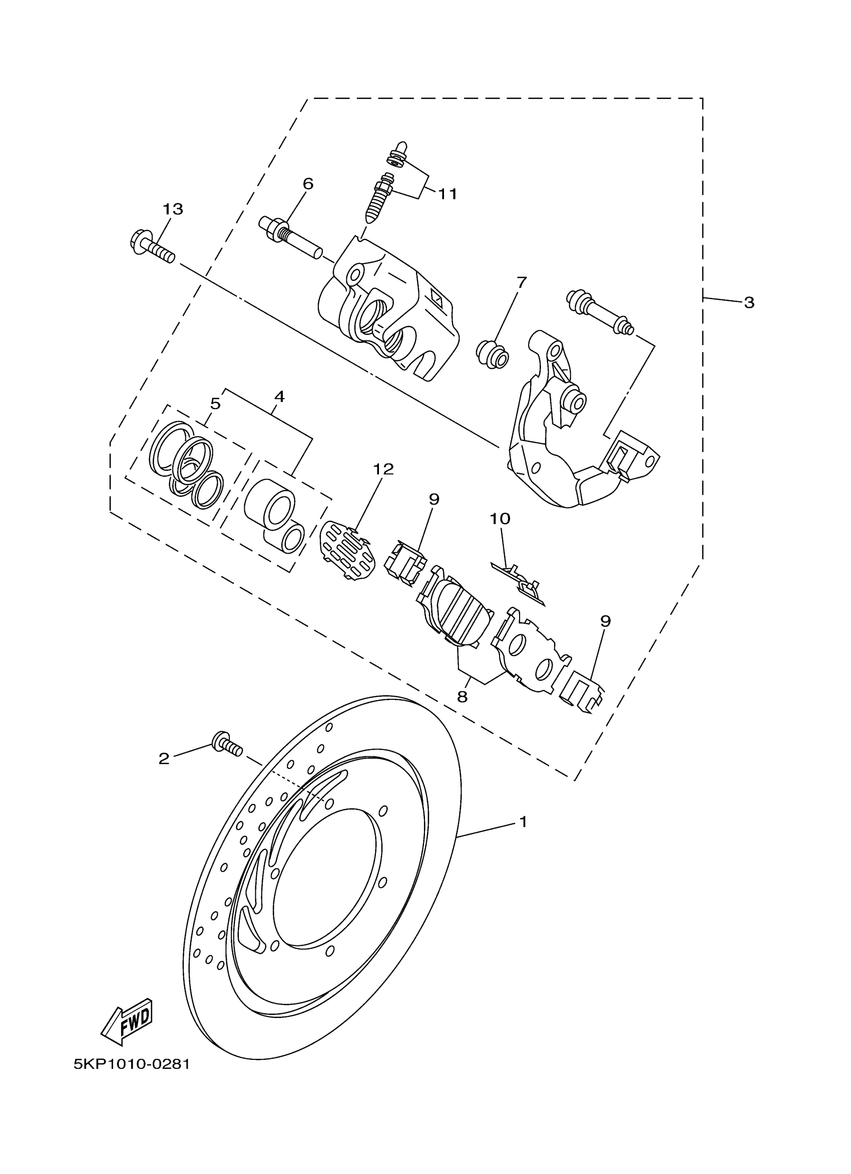
FRONT BRAKE CALIPER
Yamaha XVS650RC (V-STAR CUSTOM CA) 5FBL 2003 FRONT BRAKE CALIPER Diagram
#
Description
Price
10
SPRING, ANTI RATTLE
3YX-25929-00-00
Unavailable
12
SHIM, CALIPER
5BN-25827-00-00
Unavailable
