Yamaha XVS650AKC (V-STAR CLASSIC CA) 5BN2 1998 CARBURETOR Diagram
#
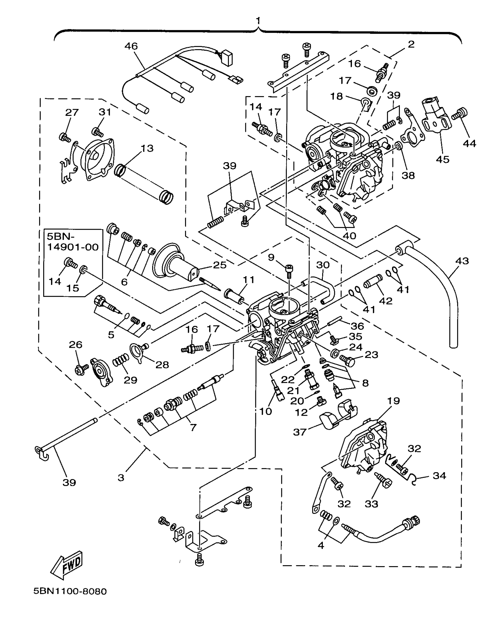
1
CARBURETOR ASSY
5BN-14900-01-00
Unavailable
1
CARBURETOR ASSY
5BN-14900-11-00
Unavailable
2
CARBURETOR ASSY 1
5BN-14901-01-00
Unavailable
2
CARBURETOR ASSY 1
5BN-14901-10-00
Unavailable
3
CARBURETOR ASSY 2
5BN-14902-01-00
Unavailable
3
. CARBURETOR ASSY 2
5BN-14902-10-00
Unavailable
4
THROTTLE SCREW SET
4TR-14103-00-00
Unavailable
6
NEEDLE SET
5BN-1490J-00-00
Unavailable
11
NOZZLE, MAIN
5BN-14141-34-00
Unavailable
12
JET, MAIN (# 90)
3G2-14231-18-00
Unavailable
13
SPRING, DIAPHRAGM
4VR-14933-00-00
Unavailable
14
SCREW
3DM-14216-00-00
Unavailable
14
HEATER ASSY
5FU-83790-01-00
Unavailable
15
GASKET
127-14198-00-00
Unavailable
16
HEATER ASSY
4EB-83790-00-00
Unavailable
17
WASHER, PLATE
90201-08016-00
Unavailable
17
WASHER, PLATE
90201-08016-00
Unavailable
18
TERMINAL 1
4DH-82103-00-00
Unavailable
19
O-RING
1HX-14147-00-00
Unavailable
20
O-RING
1AE-14227-00-00
Unavailable
21
HOLDER
1AE-14261-00-00
Unavailable
22
GASKET
1AE-14237-00-00
Unavailable
23
SCREW
1HX-14565-00-00
Unavailable
24
WASHER,MAIN JET
137-14153-00-00
Unavailable
25
DIAPHRAGM ASSY
4TR-14940-00-00
Unavailable
26
SCREW, PAN HEAD
98517-04012-00
Unavailable
27
SCREW, ROD
3KW-14486-00-00
Unavailable
28
DIAPHRAGM ASSY
22V-14940-00-00
Unavailable
29
SPRING
26H-14275-00-00
Unavailable
30
PIPE 1
4TR-14348-00-00
Unavailable
31
SCREW, PAN HEAD(JG1)
98507-04008-00
Unavailable
31
SCREW, PAN HEAD(JG1)
98507-04008-00
Unavailable
31
SCREW, PAN HEAD(JG1)
98507-04008-00
Unavailable
32
SCREW, PAN HEAD(N15)
98507-04014-00
Unavailable
33
PLUG, DRAIN
12R-14191-00-00
Unavailable
34
CLIP
4TR-14937-00-00
Unavailable
35
SCREW
1FN-14565-00-00
Unavailable
36
PIN, FLOAT
353-14186-00-00
Unavailable
37
FLOAT
1HX-14985-00-00
Unavailable
38
SEAL
4HM-14239-00-00
Unavailable
39
STARTER LEVER SET, 1
4TR-1490L-00-00
Unavailable
40
STOP SCREW SET
3KW-1490K-00-00
Unavailable
41
O-RING
36Y-14147-00-00
Unavailable
42
NIPPLE
1WG-14251-00-00
Unavailable
43
HOSE
4TR-14987-00-00
Unavailable
44
SCREW
4KM-24453-00-00
Unavailable
45
THROTTLE SENSOR ASSY
4NK-85885-00-00
Unavailable
46
. WIRE, SUB LEAD
5BN-81517-00-00
Unavailable
