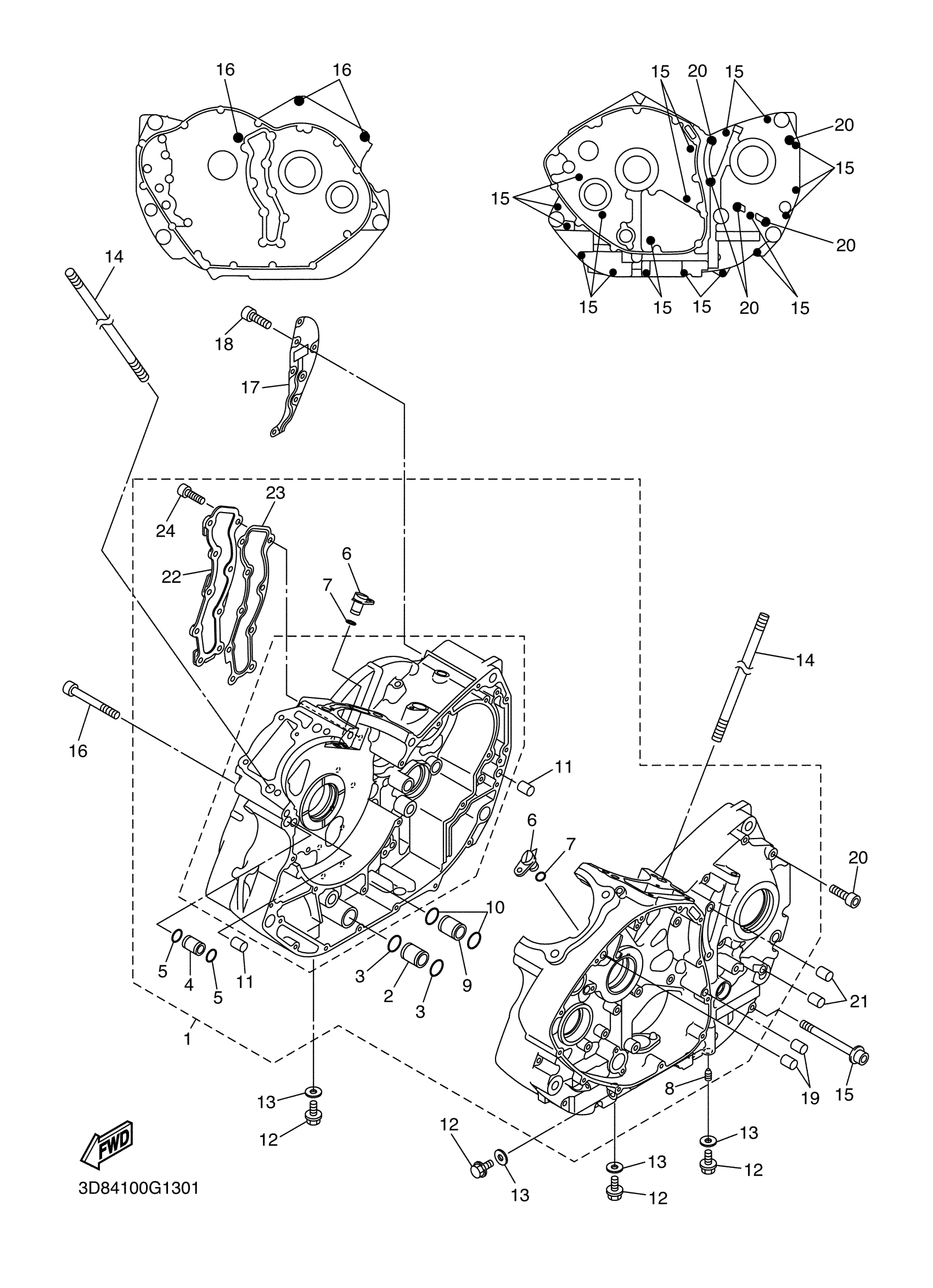
Yamaha XVS13CTYR (V STAR 1300 TOURER) 5S670 2009 CRANKCASE Diagram
#
Description
Price
1
CRANKCASE ASSY
3D8-15100-01-00
Unavailable
6
NOZZLE 2
3D8-15148-00-00
Unavailable
8
NOZZLE 1
2H7-15138-00-00
Unavailable
14
BOLT, STUD
90116-12011-00
Unavailable
16
BOLT
91314-10110-00
Unavailable
17
SEPERATOR, OIL
3D8-15368-00-00
Unavailable
18
BOLT, HEXAGON SOCKET HEAD
91317-06106-00
Unavailable
19
PIN, DOWEL
99530-08012-00
Unavailable
20
BOLT, SOCKET
91317-08035-00
Unavailable
21
PIN, DOWEL
99590-10114-00
Unavailable
22
COVER, CRANKCASE 3
3D8-15431-00-00
Unavailable
23
GASKET, CRANKCASE COVER 3
3D8-15462-00-00
Unavailable
24
BOLT,SOCKET HEAD
91314-06020-00
Unavailable
