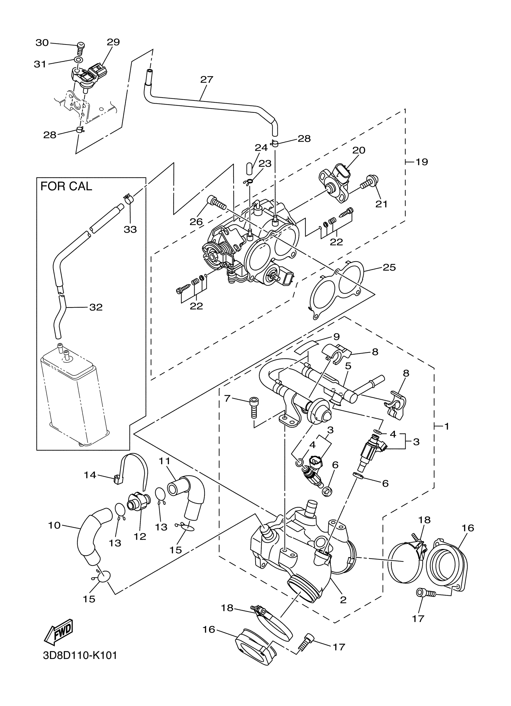
Yamaha XVS13CTFDC (V STAR 1300 DELUXE CA) 2CA2 2013 INTAKE 1 Diagram
#
Description
Price
2
MANIFOLD
3D8-13640-00-00
Unavailable
8
HOLDER
3D8-14261-00-00
Unavailable
10
PIPE, SILENCER
3D8-1441J-01-00
Unavailable
11
PIPE, SILENCER 2
3D8-1442J-01-00
Unavailable
12
PLUG
3D8-14862-00-00
Unavailable
16
JOINT, CARBURETOR 1
3D8-13586-00-00
Unavailable
17
BOLT,SOCKET HEAD
91314-06020-00
Unavailable
18
HOSE CLAMP ASSY
90450-62006-00
Unavailable
19
THROTTLE BODY ASSY
3D8-13750-42-00
Unavailable
20
THROTTLE SENSOR AS
8GL-85885-01-00
Unavailable
21
SCREW
4KM-24453-00-00
Unavailable
22
AIR SCREW SET
3D8-14104-00-00
Unavailable
23
CLIP, PIPE
8A7-14139-00-00
Unavailable
24
CAP
895-14169-00-00
Unavailable
25
SEAL
BL3-14467-00-00
Unavailable
26
BOLT,SOCKET HEAD
91314-06020-00
Unavailable
27
HOSE, AIR 2
3D8-13892-10-00
Unavailable
28
CLIP(42X)
90467-07093-00
Unavailable
29
SENSOR, PRESSURE
5S7-82380-00-00
Unavailable
30
BOLT(3JK)
97027-05020-00
Unavailable
31
WASHER, PLAIN (646)
92990-05600-00
Unavailable
