Yamaha XVS13CTFC (V STAR 1300 TOURER CA) 5S6W 2015 FENDER Diagram
#
Description
Price
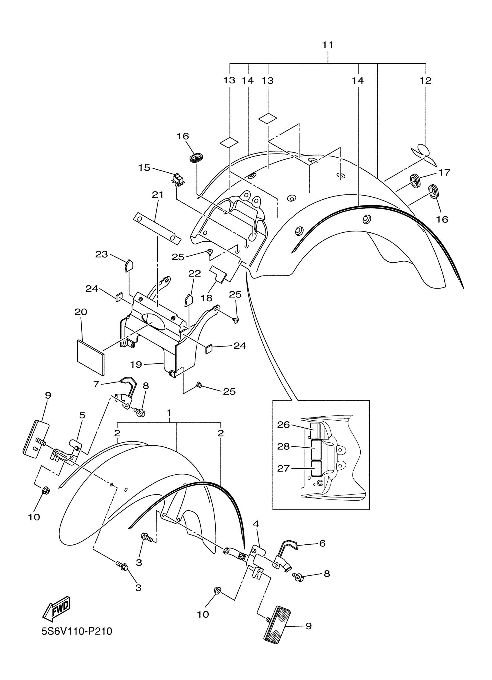
1
FRONT FENDER ASSY
3D8-Y2151-21-PD
Unavailable
2
GRAPHIC, FRONT FEN
5S6-21570-20-00
Unavailable
4
STAY 1
3D8-21587-00-00
Unavailable
5
STAY 2
3D8-21588-00-00
Unavailable
6
HOLDER,WIRE 1
3D8-21597-00-00
Unavailable
7
HOLDER, WIRE 2
3D8-21598-00-00
Unavailable
11
REAR FENDER ASSY
3D8-W216R-81-P6
Unavailable
14
GRAPHIC SET,REAR F
5S6-2165A-20-00
Unavailable
16
GROMMET
90480-01015-00
Unavailable
17
PLUG
90338-20004-00
Unavailable
18
DAMPER
3D8-21747-00-00
Unavailable
19
GUARD, MUD
3D8-21629-00-PD
Unavailable
20
FLAP
3D8-21621-00-00
Unavailable
21
DAMPER 1
3D8-21638-00-00
Unavailable
22
DAMPER 2
3D8-21639-00-00
Unavailable
23
DAMPER
3D8-21649-00-00
Unavailable
24
PROTECTOR
3D8-21652-00-00
Unavailable
25
RIVET(4PH)
90269-07077-00
Unavailable
28
LABEL, TIRE
1D7-21668-00-00
Unavailable
