- Partiron
- OEM Parts
- Yamaha
- motorcycle
- 2014
- XVS13CTECB (V STAR 1300 TOURER CA) 5S6T 2014
REAR ARM SUSPENSION
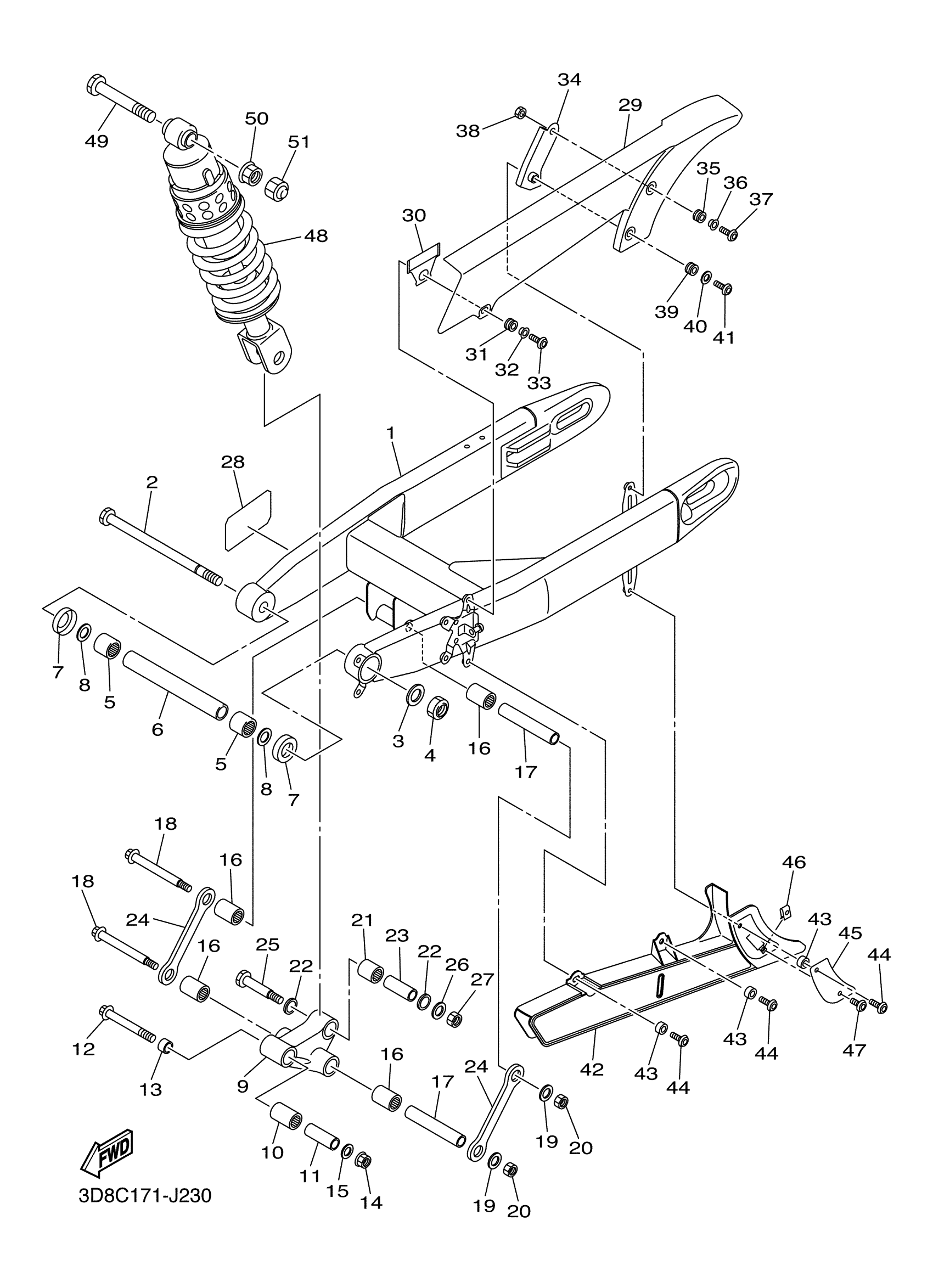
Yamaha XVS13CTECB (V STAR 1300 TOURER CA) 5S6T 2014 REAR ARM SUSPENSION Diagram
#
1
REAR ARM COMP.
3D8-22110-30-00
Unavailable
6
BUSH 2
3D8-22124-00-00
Unavailable
9
ARM, RELAY
3D8-2217A-00-00
Unavailable
11
COLLAR(2MF)
90387-100T8-00
Unavailable
13
COLLAR
90387-10049-00
Unavailable
16
BEARING, CYLINDRICAL(2GH)
93317-41761-00
Unavailable
17
COLLAR(2GH)
90387-126T1-00
Unavailable
18
BOLT
90101-12027-00
Unavailable
19
WASHER, PLATE
90201-12045-00
Unavailable
20
NUT, U
95612-12100-00
Unavailable
21
BEARING, CYLINDRICAL(3YL)
93317-31771-00
Unavailable
22
OIL SEAL
93109-17071-00
Unavailable
23
COLLAR(3TJ)
90387-127W0-00
Unavailable
24
ARM 1
3D8-2217M-00-00
Unavailable
25
BOLT
90109-10024-00
Unavailable
26
WASHER, PLATE
90201-10035-00
Unavailable
27
NUT, U
95617-10100-00
Unavailable
28
PROTECTOR
5PX-21652-00-00
Unavailable
29
CASE, CHAIN
3D8-22311-10-00
Unavailable
30
REINF.,1
3D8-22351-00-00
Unavailable
31
GROMMET
90480-13080-00
Unavailable
32
COLLAR
90387-06146-00
Unavailable
33
SCREW(4DN)
90149-06302-00
Unavailable
34
STAY, CHAIN CASE
3D8-2213J-00-00
Unavailable
35
GROMMET
90480-13004-00
Unavailable
36
COLLAR
90387-06171-00
Unavailable
37
BOLT
90111-06038-00
Unavailable
38
NUT, HEXAGON
95380-06600-00
Unavailable
39
GROMMET
90480-13004-00
Unavailable
40
WASHER, PLATE
90201-06095-00
Unavailable
41
SCREW(4DN)
90149-06302-00
Unavailable
42
CASE, CHAIN 2
3D8-22312-00-00
Unavailable
43
COLLAR
90387-06106-00
Unavailable
44
BOLT
90111-06038-00
Unavailable
45
PLATE, GUIDE 1
3D8-22341-10-00
Unavailable
46
NUT, SPRING(4ES)
90183-06069-00
Unavailable
47
SCREW(3XV)
90149-06298-00
Unavailable
48
SHOCK ABSORBER ASSY, REAR
3D8-22210-20-00
Unavailable
49
BOLT
90109-10028-00
Unavailable
51
CAP
5YU-2143A-00-00
Unavailable
