Partiron

Yamaha XVS13CTDR (V STAR 1300 TOURER) 5S6N 2013 FRONT MASTER CYLINDER Diagram

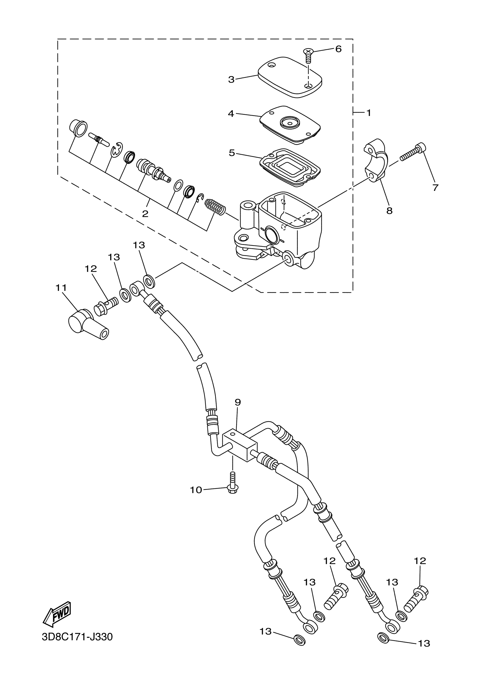
#

Description
Price

1

MASTER CYLINDER SUB ASSY

3D8-W2587-20-00

Unavailable

2

CYLINDER KIT, MAST

4B5-25807-00-00

Unavailable

3

CAP, RESERVOIR

4B5-25852-00-00

$35.99

4

BUSH,DIAPHRAGM

4B5-25855-00-00

$6.99

5

DIAPHRAGM, RESERVOIR

4B5-25854-00-00

Unavailable

6

SCREW

5VS-2589H-00-00

$4.11

7

BOLT

5VS-26332-00-00

$4.42

8

BRACKET, MASTER CYLINDER

3D8-25867-00-00

Unavailable

9

HOSE, BRAKE 1

3D8-25872-10-00

Unavailable

10

BOLT, WASHER BASED(4EB)

90105-06791-00

$2.60

11

BOOT, MASTER CYLINDER

4L0-25862-01-00

$7.99

12

BOLT, UNION

90401-10020-00

$9.49

13

GASKET

90430-10005-00

$9.49