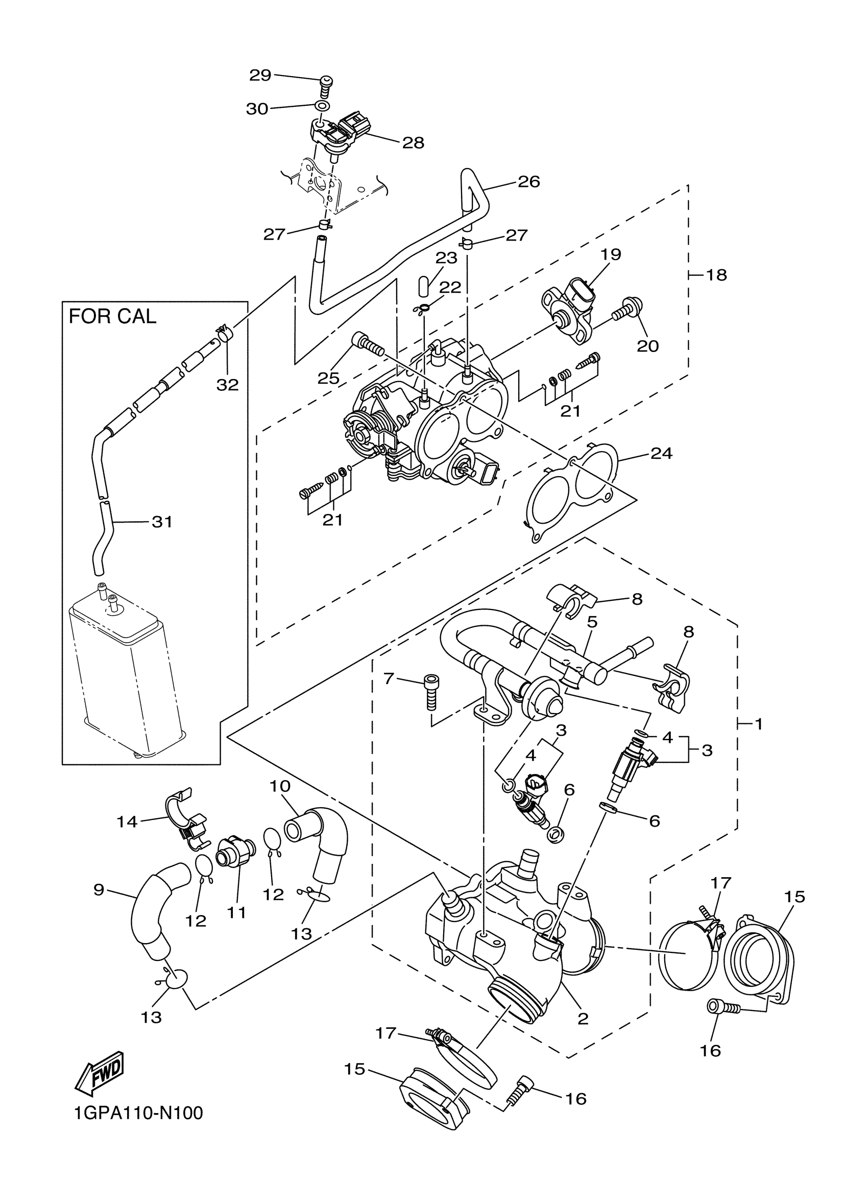
Yamaha XVS13CGGY (STRYKER BULLET COWL) BJ31 2016 INTAKE 1 Diagram
#
Description
Price
1
CARBURETOR JOINT ASSY
3D8-13590-40-00
Unavailable
2
MANIFOLD
3D8-13640-00-00
Unavailable
8
HOLDER
3D8-14261-00-00
Unavailable
9
PIPE, SILENCER
3D8-1441J-01-00
Unavailable
10
PIPE, SILENCER 2
3D8-1442J-01-00
Unavailable
11
PLUG
3D8-14862-00-00
Unavailable
14
CLAMP
90464-23004-00
Unavailable
16
BOLT,SOCKET HEAD
91314-06020-00
Unavailable
17
HOSE CLAMP ASSY
90450-62006-00
Unavailable
18
THROTTLE BODY ASSY
3D8-13750-50-00
Unavailable
19
THROTTLE SENSOR AS
8GL-85885-01-00
Unavailable
20
SCREW
4KM-24453-00-00
Unavailable
21
AIR SCREW SET
3D8-14104-00-00
Unavailable
22
CLIP, PIPE
8A7-14139-00-00
Unavailable
23
CAP
895-14169-00-00
Unavailable
24
SEAL
BL3-14467-00-00
Unavailable
25
BOLT,SOCKET HEAD
91314-06020-00
Unavailable
26
HOSE, AIR
27D-13895-00-00
Unavailable
27
CLIP(42X)
90467-07093-00
Unavailable
28
SENSOR, PRESSURE
5S7-82380-00-00
Unavailable
29
BOLT(3JK)
97027-05020-00
Unavailable
30
WASHER, PLAIN (646)
92990-05600-00
Unavailable
31
PIPE
27D-14148-00-00
Unavailable
32
CLIP
90467-09120-00
Unavailable
