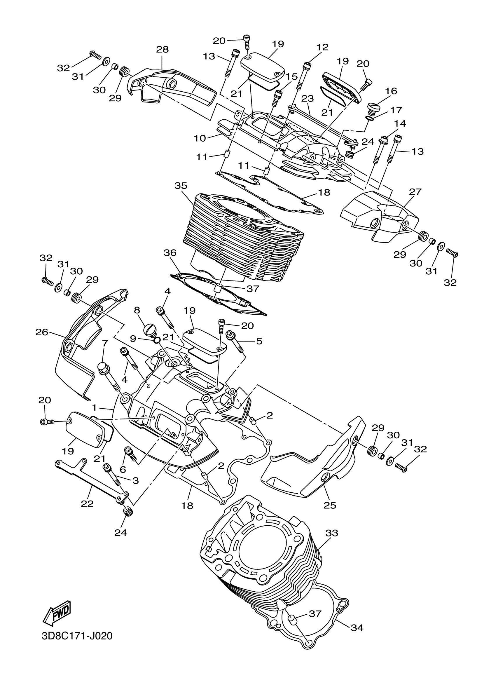
Yamaha XVS13BGGC (V STAR DELUXE CA) 2CAH 2016 CYLINDER Diagram
#
Description
Price
3
BOLT, HEXAGON SOCKET HEAD
90110-06269-00
Unavailable
10
COVER, CYLINDER HEAD 2
3D8-11192-00-00
Unavailable
12
BOLT, HEXAGON SOCKET HEAD
90110-06269-00
Unavailable
18
GASKET, HEAD COVER 1
3D8-11193-00-00
Unavailable
19
COVER, CYLINDER HEAD SIDE 2
27D-11186-00-00
Unavailable
20
BOLT,SOCKET HEAD
91314-06020-00
Unavailable
21
GASKET, CYLINDER HEAD SIDE
3D8-11196-00-00
Unavailable
22
PLATE 2
3D8-1112F-01-00
Unavailable
23
PLATE 3
3D8-1113F-01-00
Unavailable
24
GROMMET (17J)
90480-10334-00
Unavailable
25
COVER 1
2CA-1111M-00-00
Unavailable
26
COVER 2
1GP-1111N-00-00
Unavailable
27
COVER 3
1GP-1111P-00-00
Unavailable
28
COVER 4
1GP-1111R-00-00
Unavailable
29
GROMMET
90480-13022-00
Unavailable
30
COLLAR
90387-06207-00
Unavailable
31
WASHER, PLATE
90201-06088-00
Unavailable
32
BOLT
90111-06038-00
Unavailable
33
CYLINDER 1
3D8-11311-01-00
Unavailable
34
GASKET, CYLINDER
3D8-11351-00-00
Unavailable
35
CYLINDER 2
3D8-11321-01-00
Unavailable
36
GASKET, CYLINDER 2
3D8-11352-00-00
Unavailable
