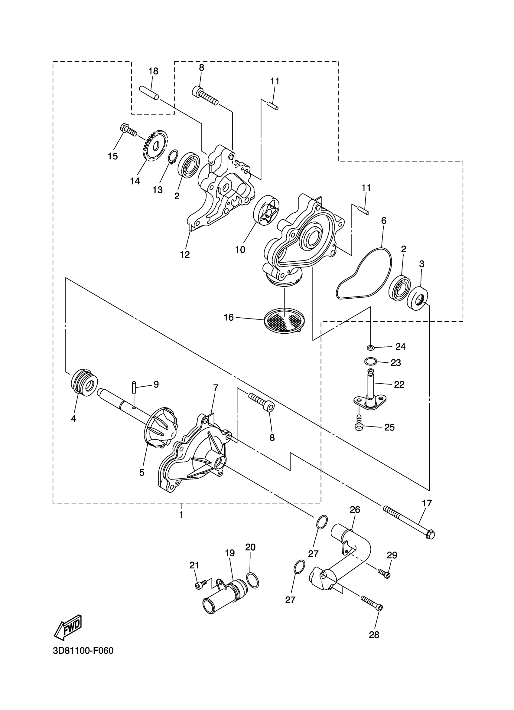
Yamaha XVS13AXS (V STAR 1300) 3D841 2008 WATER PUMP Diagram
#
Description
Price
1
WATER PUMP ASSY
3D8-12420-03-00
Unavailable
5
IMPELLER SHAFT ASSY
3D8-12450-01-00
Unavailable
6
O-RING
3D8-12439-00-00
Unavailable
7
COVER, HOUSING
3D8-12422-00-00
Unavailable
12
HOUSING, ROTOR
3D8-13336-00-00
Unavailable
14
SPROCKET, DRIVEN
3D8-13355-00-00
Unavailable
16
STRAINER, OIL
3D8-13411-00-00
Unavailable
17
BOLT, HEXAGON SOCKET HEAD
90110-08049-00
Unavailable
18
PIN, DOWEL
99530-08012-00
Unavailable
19
PIPE 9
3D8-1248E-01-00
Unavailable
20
O-RING(1KT)
93210-27778-00
Unavailable
21
BOLT,SOCKET
91317-06012-00
Unavailable
22
BODY, DRAIN COCK
3D8-12562-00-00
Unavailable
23
O-RING (32N)
93210-15639-00
Unavailable
24
O-RING(26H)
93210-06667-00
Unavailable
25
BOLT, HEXAGON SOCKET HEAD
90110-06245-00
Unavailable
26
PIPE, WATER
3D8-12564-00-00
Unavailable
27
O-RING
93210-235A1-00
Unavailable
28
BOLT(J17)
91312-06035-00
Unavailable
29
BOLT,SOCKET
91317-06016-00
Unavailable
