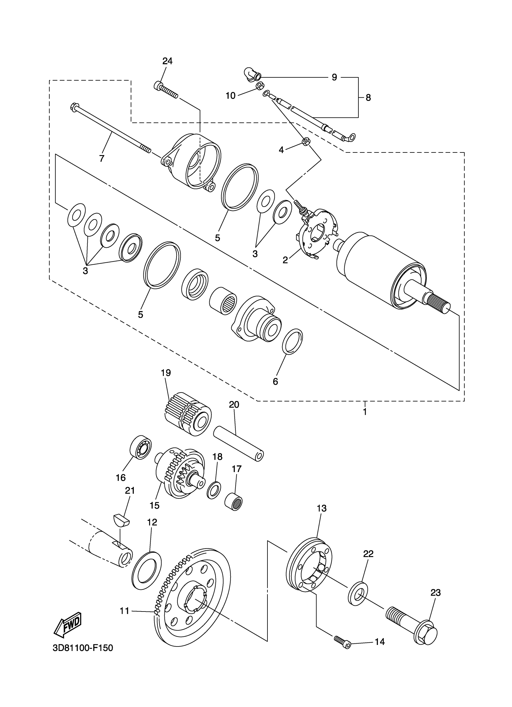
Yamaha XVS13AXS (V STAR 1300) 3D841 2008 STARTER Diagram
#
Description
Price
1
MOTOR ASSY
3D8-81890-00-00
Unavailable
3
WASHER KIT
3AJ-81809-00-00
Unavailable
5
GASKET
35C-81844-00-00
Unavailable
7
. BOLT
3D8-81826-00-00
Unavailable
8
CORD, STARTER MOTOR
3D8-81815-00-00
Unavailable
9
.. CAP
5H0-81871-00-00
Unavailable
11
GEAR 3
3D8-15515-10-00
Unavailable
12
WASHER, PLATE(1VJ)
90201-303P4-00
Unavailable
13
STARTER ONE-WAY ASSY
4NK-15590-00-00
Unavailable
16
BRG,R-B 6000 26MM 19G KY
93306-00004-00
Unavailable
17
BEARING
93317-11096-00
Unavailable
18
WASHER PLATE (3L6)
90201-08759-00
Unavailable
19
GEAR, IDLER 1
3D8-15512-01-00
Unavailable
20
SHAFT 2
4WM-15522-00-00
Unavailable
21
KEY, WOODRUFF
90280-05001-00
Unavailable
22
WASHER, PLATE
90201-12008-00
Unavailable
23
BOLT, WASHER BASED(3LD)
90105-12584-00
Unavailable
24
BOLT, SOCKET
91314-06030-00
Unavailable
