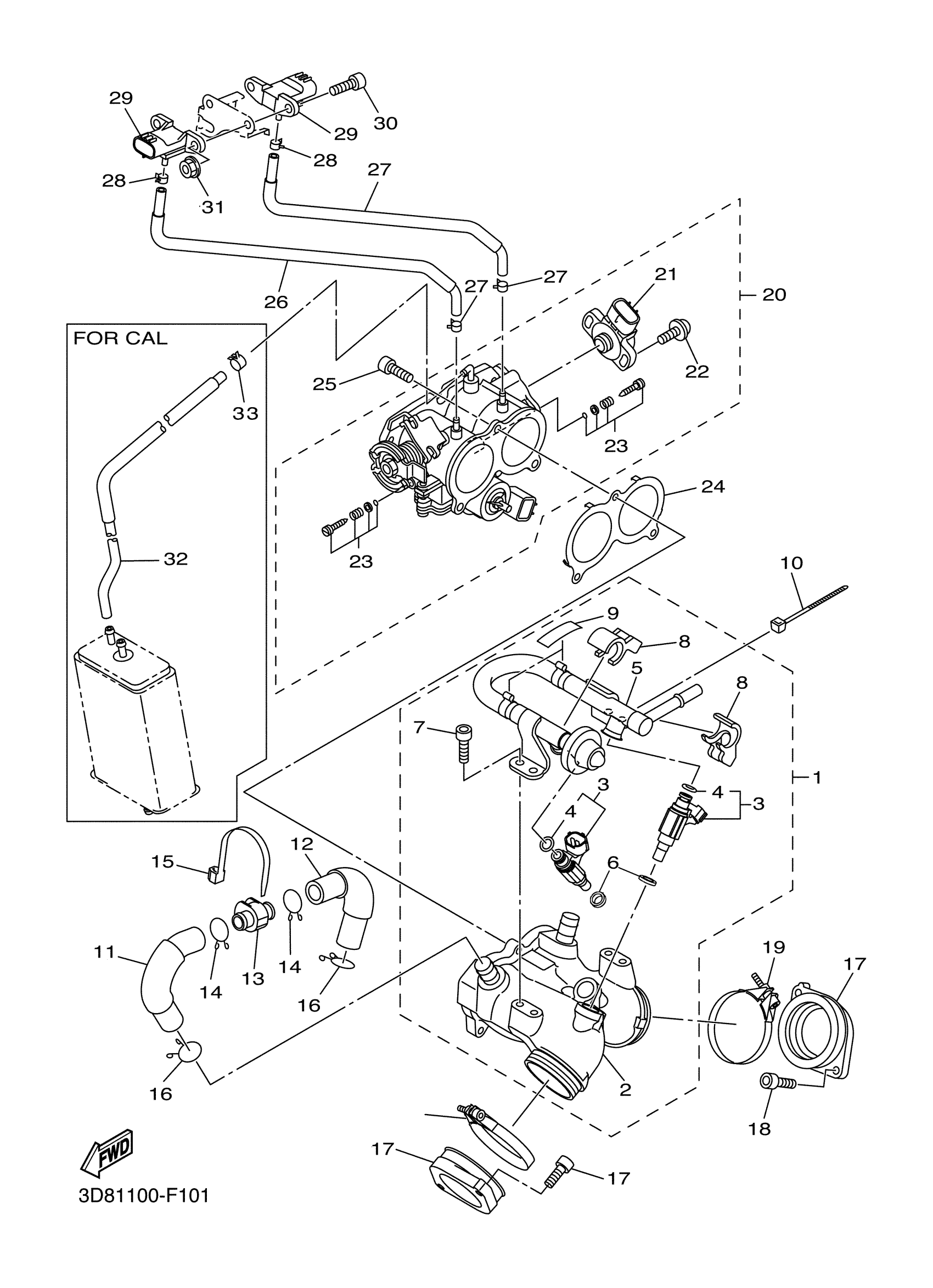
Yamaha XVS13AWC (V STAR 1300 CA) 3D82 2007 INTAKE 1 Diagram
#
Description
Price
2
MANIFOLD
3D8-13640-00-00
Unavailable
8
HOLDER
3D8-14261-00-00
Unavailable
11
PIPE, SILENCER
3D8-1441J-01-00
Unavailable
12
PIPE, SILENCER 2
3D8-1442J-01-00
Unavailable
13
PLUG
3D8-14862-00-00
Unavailable
17
JOINT, CARBURETOR 1
3D8-13586-00-00
Unavailable
18
BOLT,SOCKET HEAD
91314-06020-00
Unavailable
19
HOSE CLAMP ASSY
90450-62006-00
Unavailable
20
THROTTLE BODY ASSY
3D8-13750-20-00
Unavailable
20
THROTTLE BODY ASSY
3D8-13750-30-00
Unavailable
21
THROTTLE SENSOR ASSY
3P6-85885-01-00
Unavailable
22
SCREW
4KM-24453-00-00
Unavailable
23
AIR SCREW SET
5JW-14104-00-00
Unavailable
24
SEAL
BL3-14467-00-00
Unavailable
25
BOLT,SOCKET HEAD
91314-06020-00
Unavailable
26
HOSE, AIR
3D8-13895-00-00
Unavailable
27
HOSE, AIR
3D8-13895-00-00
Unavailable
28
CLIP(42X)
90467-07093-00
Unavailable
29
SENSOR, PRESSURE
5PS-82380-00-00
Unavailable
30
BOLT,SOCKET HEAD
91314-06020-00
Unavailable
31
NUT, FLANGE
95702-06500-00
Unavailable
32
PIPE
3D8-14148-00-00
Unavailable
33
CLIP
90467-09120-00
Unavailable
