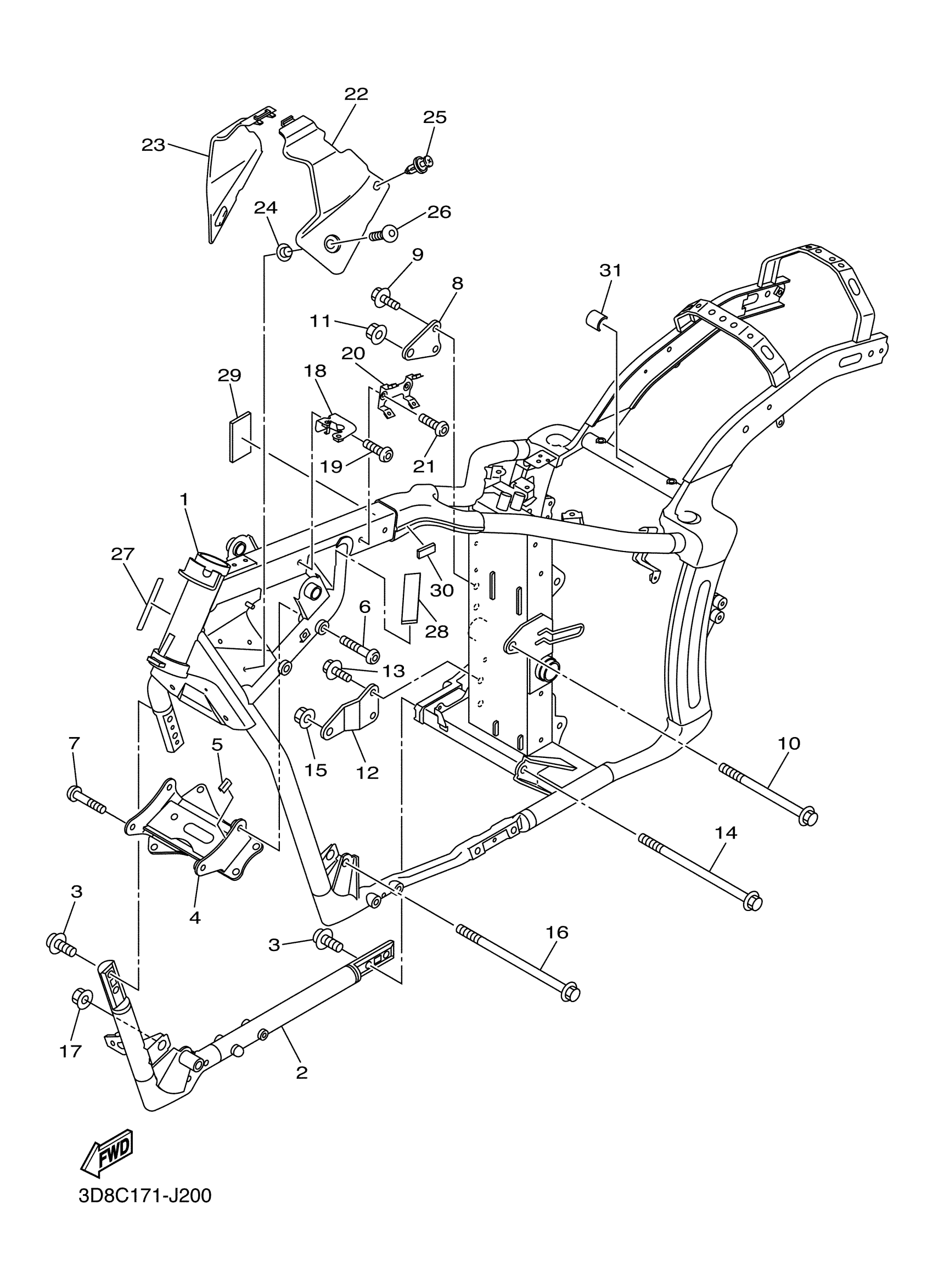
Yamaha XVS13AACB (V STAR 1300 CA) 3D8E 2011 FRAME Diagram
#
Description
Price
1
FRAME COMP.
3D8-21110-40-00
Unavailable
4
STAY, ENGINE 3
3D8-21317-10-00
Unavailable
6
BOLT,HEX. SOCKET BUTTON
90111-10028-00
Unavailable
8
STAY, ENGINE 5
3D8-21314-00-00
Unavailable
10
BOLT, FLANGE
90105-12043-00
Unavailable
12
STAY, ENGINE 3
3D8-21316-00-00
Unavailable
16
BOLT, FLANGE
90105-12045-00
Unavailable
18
BRKT., LH.
3D8-2119W-10-00
Unavailable
19
BOLT, BUTTON HEAD
92012-06012-00
Unavailable
20
BRACKET, COIL
3D8-21359-01-00
Unavailable
21
BOLT (33M)
91312-06014-00
Unavailable
22
COVER, SIDE 5
3D8-2171E-01-00
Unavailable
23
COVER, SIDE 6
3D8-2171X-01-00
Unavailable
24
COLLAR
90387-06071-00
Unavailable
25
RIVET(4JH)
90269-07076-00
Unavailable
26
BOLT
90111-06061-00
Unavailable
27
PROTECTOR
3D8-2117G-00-00
Unavailable
28
DAMPER
4XY-2834E-00-00
Unavailable
29
DAMPER
3D8-2113B-00-00
Unavailable
30
DAMPER
5H0-8235Y-M0-00
Unavailable
