- Partiron
- OEM Parts
- Yamaha
- motorcycle
- 2001
- XVS1100NC (V-STAR 1100 CUSTOM CA) 5PB5 2001
REAR MASTER CYLINDER
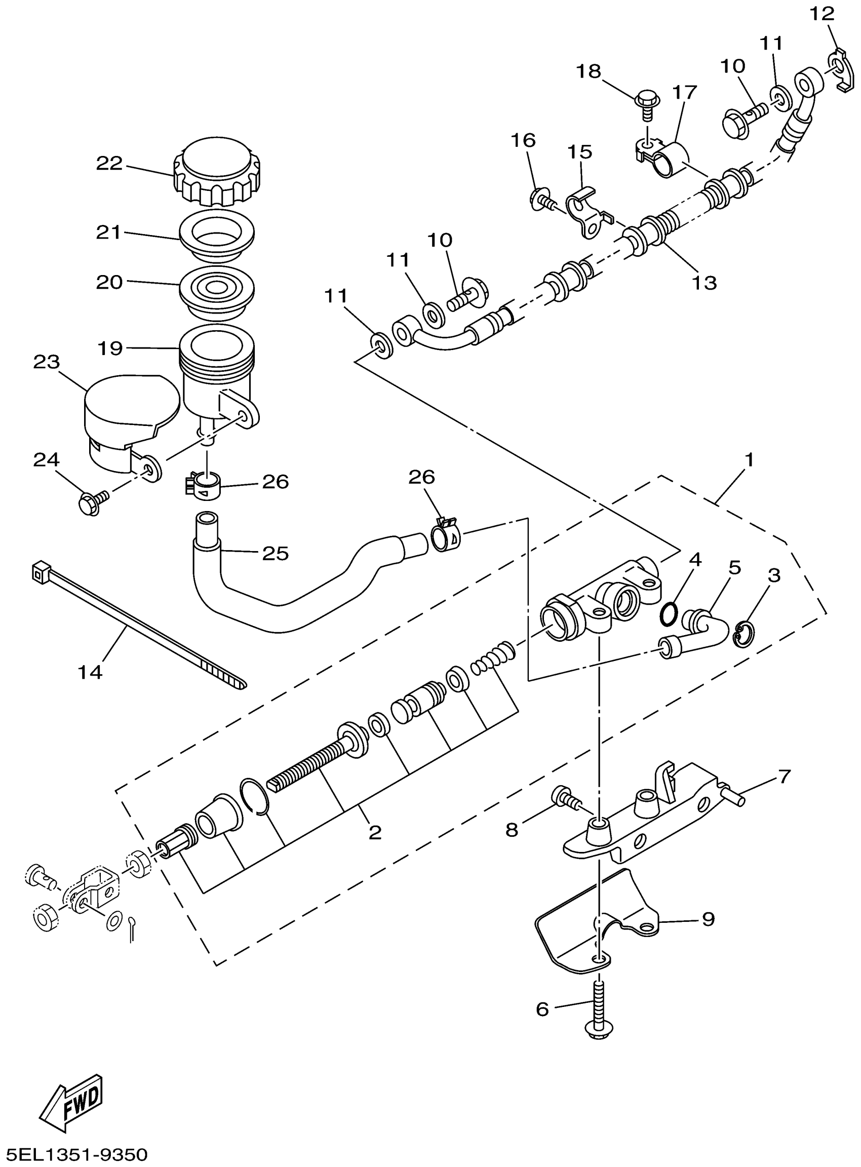
Yamaha XVS1100NC (V-STAR 1100 CUSTOM CA) 5PB5 2001 REAR MASTER CYLINDER Diagram
#
Description
Price
11
WASHER, PLATE(481)
90201-10118-00
Unavailable
12
WASHER, LOCK
5EL-25844-00-00
Unavailable
13
HOSE, BRAKE 4
5EL-2581J-02-00
Unavailable
15
HOLDER, BRAKE HOSE 2
3XV-25876-00-00
Unavailable
16
BOLT, FLANGE(4MY)
95027-06010-00
Unavailable
17
CLAMP 1
90461-08031-00
Unavailable
18
BOLT, FLANGE(4MY)
95027-06010-00
Unavailable
19
TANK, RESERVOIR
31A-25894-01-00
Unavailable
20
DIAPHRAGM, RESERVER
360-25854-01-00
Unavailable
21
BUSH,DIAPHRAGM
2GU-25855-00-00
Unavailable
22
CAP, RESERVOIR
2KF-25852-50-00
Unavailable
23
COVER, RESERVOIR TANK
5EL-25888-00-00
Unavailable
24
BOLT, WASHER BASED(JA9)
90105-06696-00
Unavailable
25
HOSE, RESERVOIR
5EL-25895-00-00
Unavailable
26
CLIP (5K4)
90467-14057-00
Unavailable
