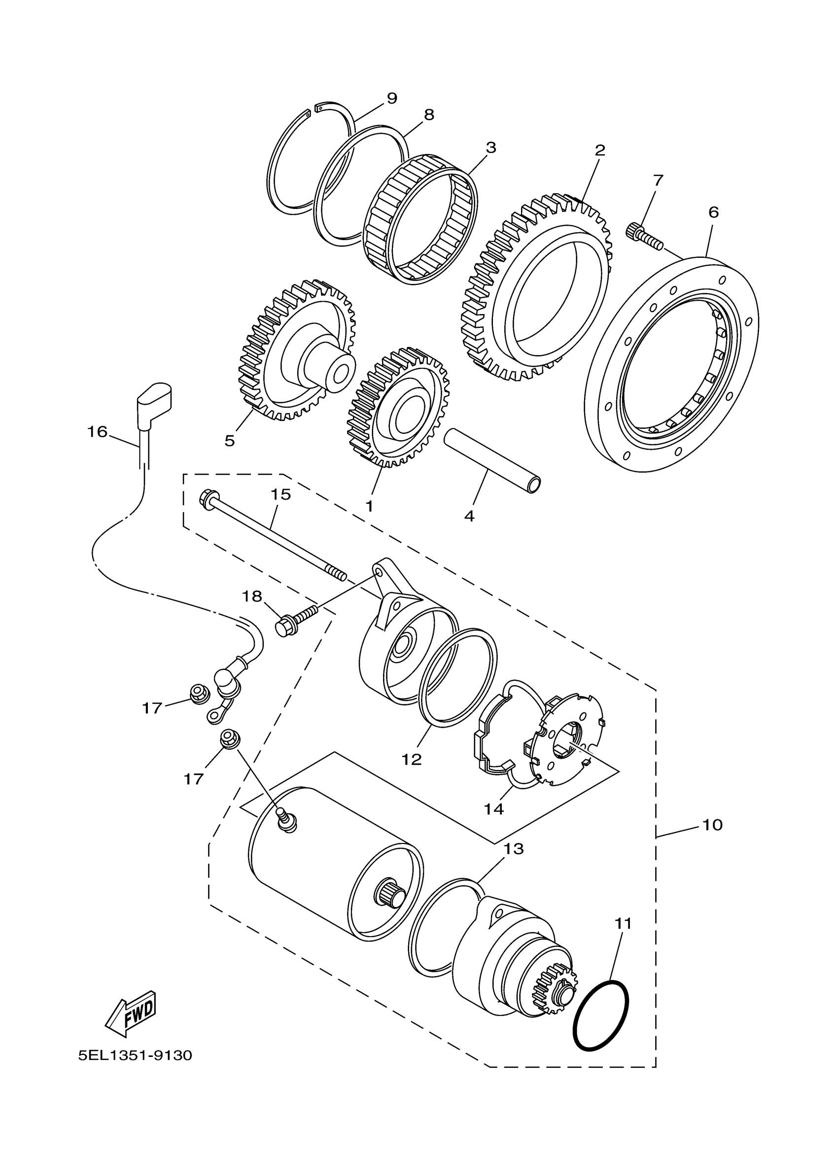
Yamaha XVS1100MC (V-STAR 1100 CUSTOM CA) 5ELB 2000 STARTER Diagram
#
Description
Price
3
BEARING
93310-5720G-00
Unavailable
4
SHAFT 1
24W-15521-00-00
Unavailable
12
GASKET
35C-81844-00-00
Unavailable
13
GASKET
4G0-81844-00-00
Unavailable
14
BRUSH HOLDER ASSY
5A8-81840-10-00
Unavailable
15
. BOLT
3KM-81826-00-00
Unavailable
16
CORD, STARTER MOTOR
5JN-81815-00-00
Unavailable
17
NUT
4XV-8182A-00-00
Unavailable
18
BOLT, FLANGE
95814-06025-00
Unavailable
