- Partiron
- OEM Parts
- Yamaha
- motorcycle
- 2003
- XVS1100ARC (V-STAR 1100 CLASSIC CA) 5KSS 2003
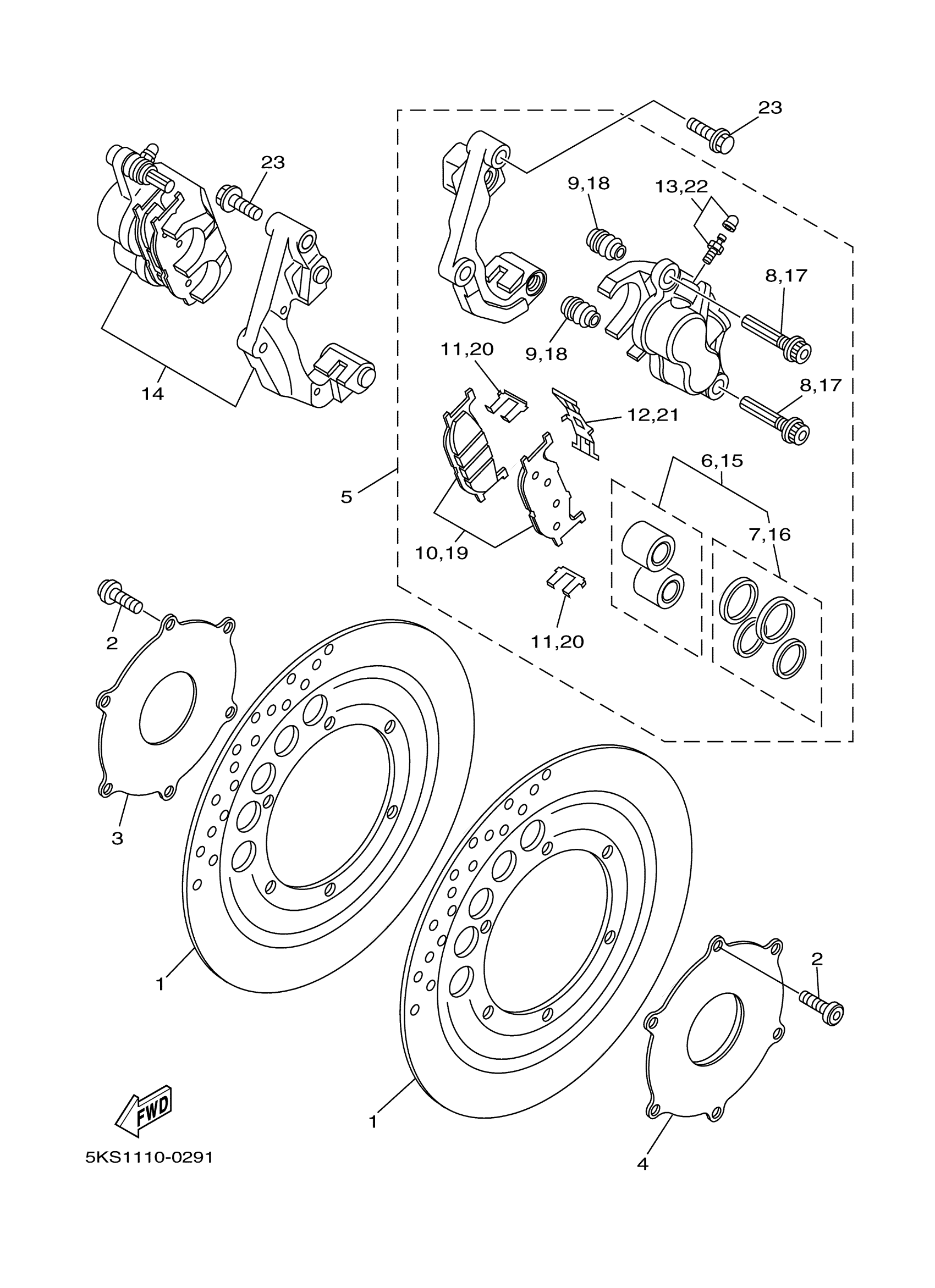
FRONT BRAKE CALIPER
Yamaha XVS1100ARC (V-STAR 1100 CLASSIC CA) 5KSS 2003 FRONT BRAKE CALIPER Diagram
#
Description
Price
1
DISC, BRAKE (RIGHT)
3JB-2582U-01-00
Unavailable
3
RING, WHEEL 1 (RIGHT)
5EL-2514A-00-00
Unavailable
4
RING, WHEEL 2 (RIGHT)
5KS-2515A-00-00
Unavailable
5
CALIPER ASSY (LEFT)
5KS-2580T-01-00
Unavailable
12
SPRING, ANTI RATTLE
3YX-25929-00-00
Unavailable
14
CALIPER ASSY (RIGHT)
5KS-2580U-01-00
Unavailable
21
SPRING, ANTI RATTLE
3YX-25929-00-00
Unavailable
23
BOLT, WASHER BASED(3VD)
90105-10638-00
Unavailable
