- Partiron
- OEM Parts
- Yamaha
- motorcycle
- 1983
- XV920MK (XV920MK) 1983
FUEL TANK
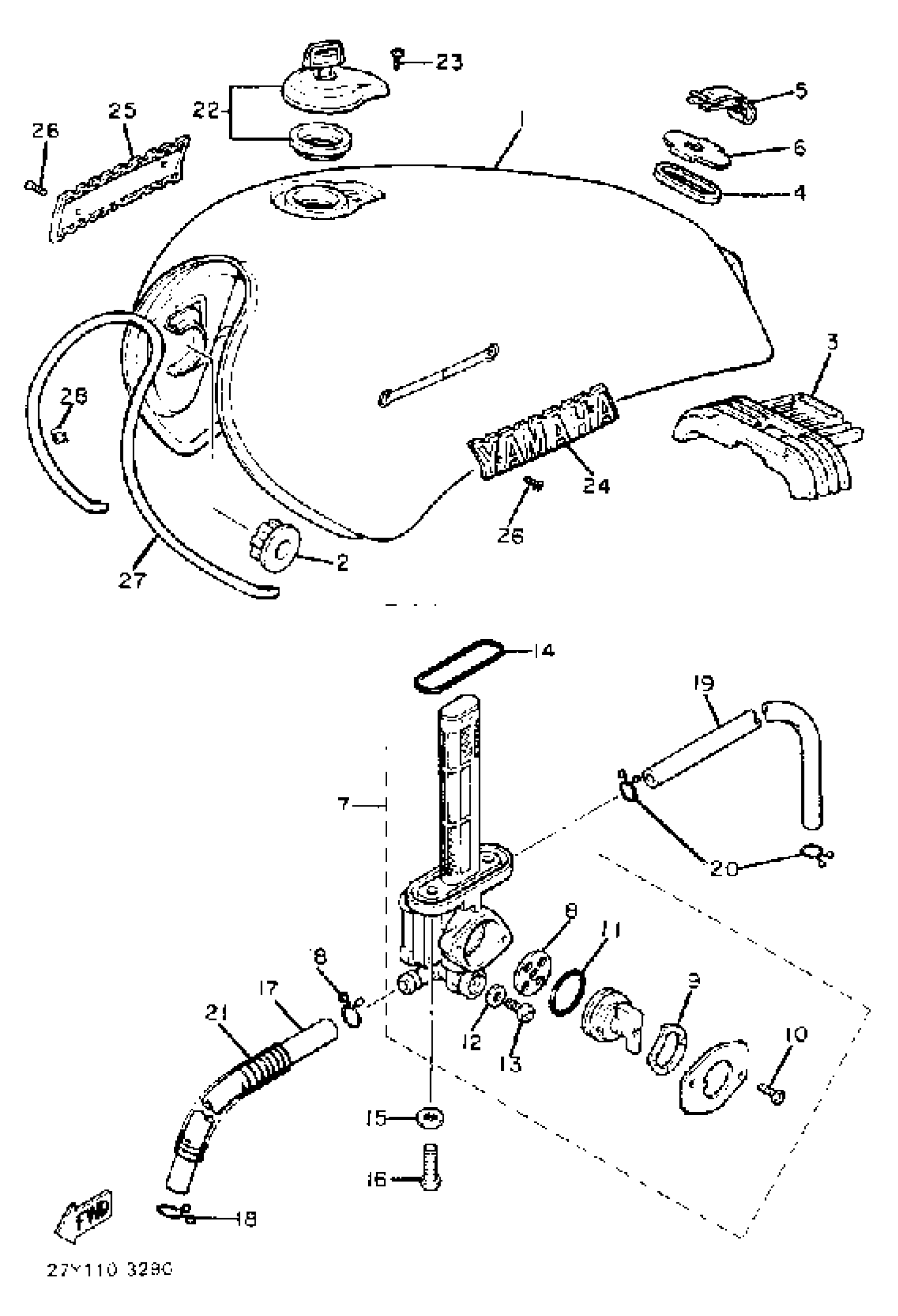
Yamaha XV920MK (XV920MK) 1983 FUEL TANK Diagram
#
Description
Price
1
FUEL TANK
24M-24110-00-6G
Unavailable
3
DAMPER, LOCATING 2
4X7-24182-01-00
Unavailable
4
DAMPER, LOCATING 3
4H7-24183-00-00
Unavailable
5
CLIP
4X7-2411M-00-00
Unavailable
6
WASHER, SPECIAL
4K0-24186-00-00
Unavailable
9
WASHER, WAVE
(23W-24518-00-00)
Unavailable
16
SCREW, PAN HEAD
90157-06018-00
Unavailable
17
HOSE (L120)
90445-113E8-00
Unavailable
18
CLIP
90467-100A1-00
Unavailable
19
HOSE (L770)
90445-090G9-00
Unavailable
20
CLIP 101235600
90467-08003-00
Unavailable
21
SPRING, COMPRESSION
(90501-08732-00)
Unavailable
22
CAP ASSY
4X7-24602-10-00
Unavailable
23
SCREW, PAN HEAD(62X)
97885-05010-00
Unavailable
24
EMBLEM 1
10L-24161-00-00
Unavailable
25
EMBLEM 2
10L-24162-00-00
Unavailable
26
SCREW (2F0)
90152-04006-00
Unavailable
27
PLATE, MOLD
27Y-24189-00-00
Unavailable
28
CLIP
90468-03063-00
Unavailable
