- Partiron
- OEM Parts
- Yamaha
- motorcycle
- 1996
- XV750HC1 (VIRAGO 750 CA) 1996
FUEL TANK NON CALIFORNIA
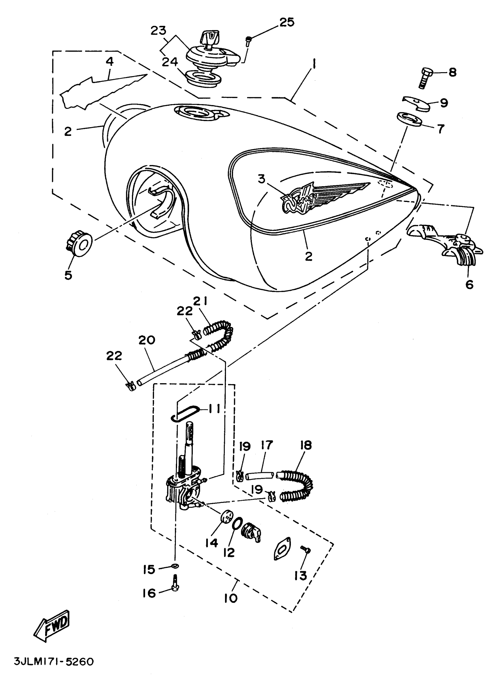
Yamaha XV750HC1 (VIRAGO 750 CA) 1996 FUEL TANK NON CALIFORNIA Diagram
#
1
FUEL TANK COMP.
1RM-24110-00-W4
Unavailable
1
FUEL TANK ASSY
1RM-W2410-00-W6
Unavailable
1
FUEL TANK ASSY
1RM-W2410-00-W7
Unavailable
2
. GRAPHIC SET (MATURE RED)
3JL-24240-90-00
Unavailable
2
. GRAPHIC SET (YAMAHA BLACK)
3JL-24240-A0-00
Unavailable
2
. GRAPHIC SET (PASTEL MINERAL BLUE)
3JL-24240-B0-00
Unavailable
3
. EMBLEM 1 (MATURE RED)
3JL-24161-30-00
Unavailable
3
. EMBLEM 1 (YAMAHA BLACK)
3JL-24161-40-00
Unavailable
3
. EMBLEM 1 (PASTEL MINERAL BLUE)
3JL-24161-50-00
Unavailable
4
. EMBLEM 2 (MATURE RED)
3JL-24162-30-00
Unavailable
4
. EMBLEM 2 (YAMAHA BLACK)
3JL-24162-40-00
Unavailable
4
. EMBLEM 2 (PASTEL MINERAL BLUE)
3JL-24162-50-00
Unavailable
6
DAMPER, LOCATING 2
42X-24182-00-00
Unavailable
8
BOLT, HEXAGON
97017-08016-00
Unavailable
9
WASHER, SPECIAL
42X-24186-00-00
Unavailable
10
FUEL COCK ASSY 1
3AL-24500-00-00
Unavailable
11
O-RING
4X8-24512-00-00
Unavailable
12
SEAL, COCK
1JK-24534-00-00
Unavailable
13
SCREW, PAN HEAD (J10)
98580-03008-00
Unavailable
14
VALVE, FUEL COCK
3H3-24523-00-00
Unavailable
15
WASHER, PLATE(3MB)
90202-05187-00
Unavailable
16
SCREW 256241430000
90149-06011-00
Unavailable
17
PIPE 10
3AL-24321-00-00
Unavailable
18
SPRING, COMPRESSION (27Y)
90501-08728-00
Unavailable
19
CLIP(3BM)
90467-10135-00
Unavailable
20
HOSE
42X-2416A-00-00
Unavailable
21
SPRING, COMPRESSION
90501-085L6-00
Unavailable
22
CLIP(41W)
90467-08092-00
Unavailable
23
CAP ASSY
4X7-24602-10-00
Unavailable
24
GASKET, TANK CAP
4X7-24612-00-00
Unavailable
25
BOLT, SOCKET
91317-05010-00
Unavailable
