- Partiron
- OEM Parts
- Yamaha
- motorcycle
- 1995
- XV750GC (VIRAGO 750 CA) 1995
SHIFT SHAFT
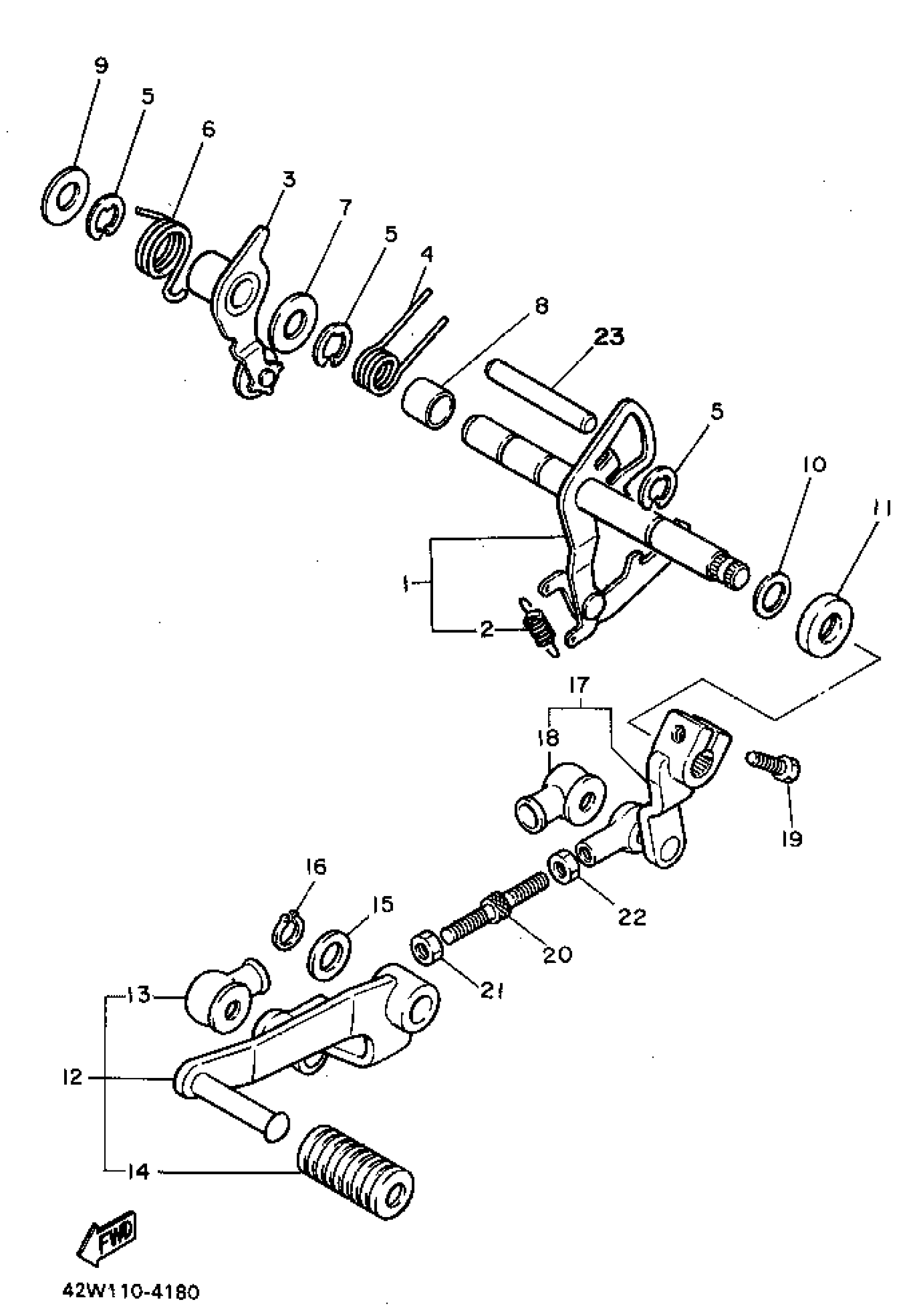
Yamaha XV750GC (VIRAGO 750 CA) 1995 SHIFT SHAFT Diagram
#
Description
Price
1
SHIFT LEVER ASSEMBLY
4X7-18120-01-00
Unavailable
3
STOPPER LEVER ASSY
5EL-18140-00-00
Unavailable
12
SHIFT PEDAL ASSY
42X-18110-01-00
Unavailable
16
CIRCLIP(10Y)
99009-12400-00
Unavailable
17
ARM, SHIFT
42X-18112-01-00
Unavailable
19
BOLT(3DM)
97024-06020-00
Unavailable
20
ROD, SHIFT
29L-18115-00-00
Unavailable
21
NUT (2H9)
90170-06228-00
Unavailable
22
NUT(650)
95380-06700-00
Unavailable
23
PIN, DOWEL (4H7)
93608-50158-00
Unavailable
