- Partiron
- OEM Parts
- Yamaha
- motorcycle
- 1991
- XV750BC (VIRAGO 750 CA) 1991
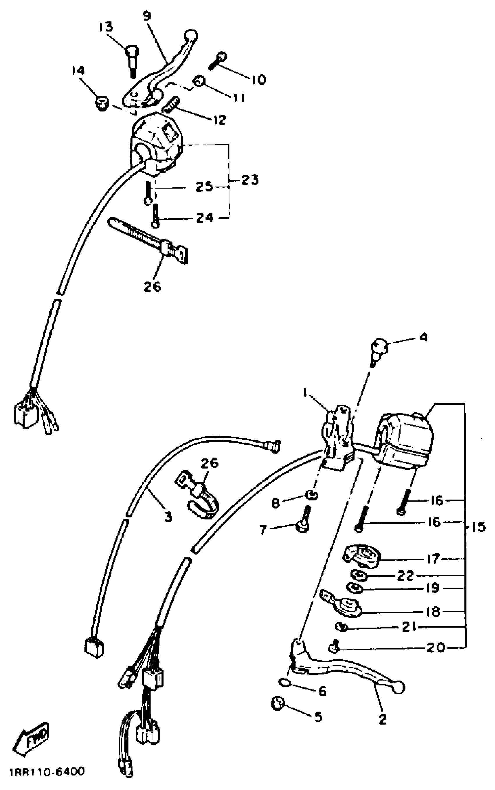
HANDLE SWITCH LEVER
Yamaha XV750BC (VIRAGO 750 CA) 1991 HANDLE SWITCH LEVER Diagram
#
Description
Price
1
HOLDER, LEVER
10M-82911-00-00
Unavailable
3
SWITCH
3Y6-82917-00-00
Unavailable
7
BOLT, HEXAGON
97007-06022-00
Unavailable
9
LEVER 2
57A-83922-01-00
Unavailable
16
SCREW, PAN
98507-05035-00
Unavailable
17
COVER, STARTER
10M-83942-00-00
Unavailable
18
LEVER, STARTER
10M-83941-00-00
Unavailable
19
YBS66-6 WASHER, PLAIN
92990-06200-00
Unavailable
20
SCREW, PAN
98517-06008-00
Unavailable
21
WASHER, SPRING
92995-06100-00
Unavailable
22
SPACER
1AA-8397X-00-00
Unavailable
23
SWITCH, HANDLE 2
3AL-83975-00-00
Unavailable
24
SCREW, PAN
98507-05040-00
Unavailable
25
SCREW, PAN
98507-05045-00
Unavailable
26
BAND, SWITCH CORD
437-83936-01-00
Unavailable
