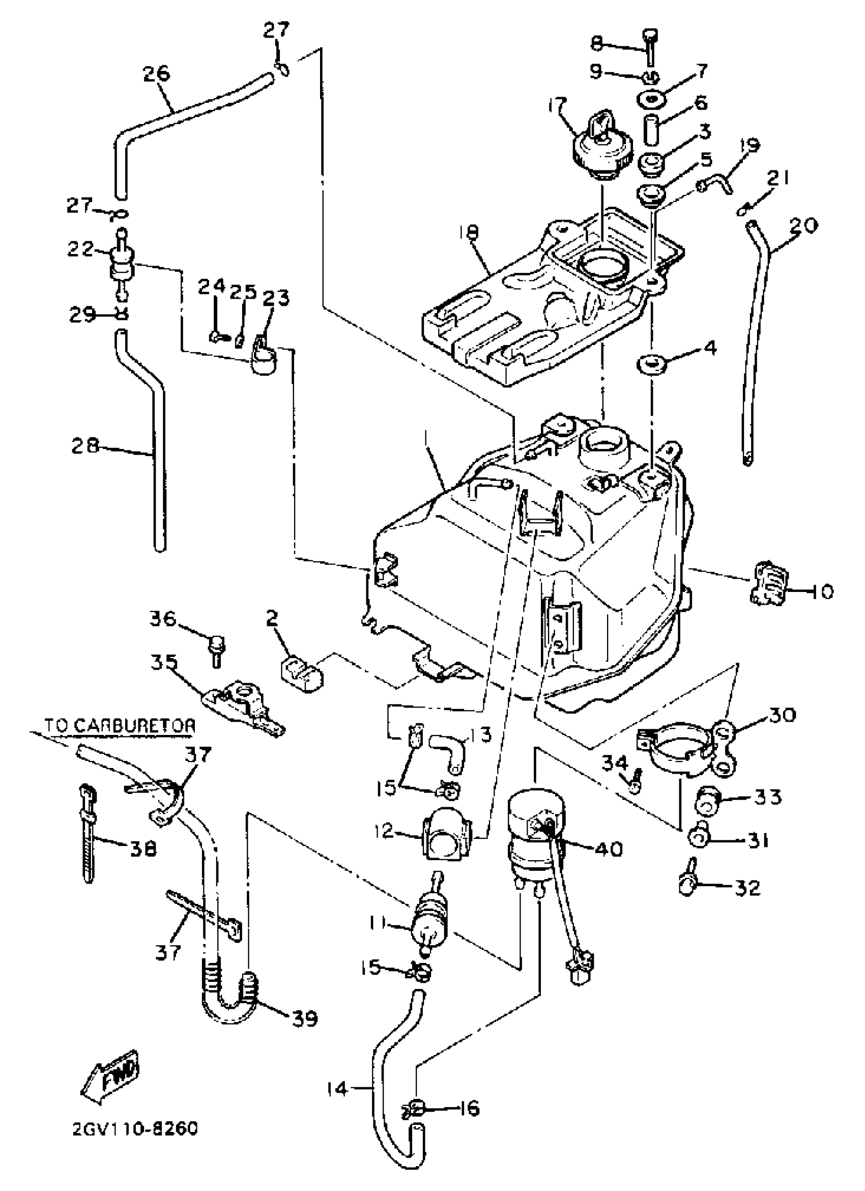
Yamaha XV535U (VIRAGO 535) 1988 FUEL TANK Diagram
#
1
FUEL TANK
2GV-24110-00-33
Unavailable
2
DAMPER, LOCATING 1
2GV-24181-00-00
Unavailable
3
DAMPER, LOCATING 2
1FK-24182-00-00
Unavailable
6
COLLAR
90387-06387-00
Unavailable
10
DAMPER, LOCATING 4
2GV-24184-00-00
Unavailable
13
PIPE, FUEL 1
2GV-24311-00-00
Unavailable
16
CLIP(42X)
90467-10091-00
Unavailable
17
CAP ASSY
54K-24602-10-00
Unavailable
18
COVER, FILLER
2GV-2414A-00-00
Unavailable
19
PIPE, JOINT 1
1FK-24376-00-00
Unavailable
20
HOSE (L340)
90445-08684-00
Unavailable
21
CLIP (16G)
90467-08021-00
Unavailable
22
ROLL OVER VALVE ASSY
25H-24180-00-00
Unavailable
23
CLAMP
90464-15014-00
Unavailable
24
SCREW, PAN HEAD(62X)
97885-05010-00
Unavailable
25
WASHER, PLAIN (646)
92990-05600-00
Unavailable
26
PIPE 3
(2GV-24313-00-00)
Unavailable
27
CLIP
90467-100A1-00
Unavailable
28
HOSE (L450)
90445-10144-00
Unavailable
29
CLIP
90467-090A2-00
Unavailable
30
BRACKET, FUEL PUMP
2GV-24491-00-00
Unavailable
31
COLLAR(42G)
90387-062L2-00
Unavailable
32
BOLT, FLANGE
95817-06016-00
Unavailable
33
GROMMET (1E5)
90480-13163-00
Unavailable
34
SCREW, PAN HEAD
90157-05M19-00
Unavailable
35
BRACKET, FUEL TANK 1
2GV-24191-00-00
Unavailable
36
BOLT, WITH WASHER(1JK)
90119-06123-00
Unavailable
37
BAND, SWITCH CORD
437-83936-11-00
Unavailable
38
BAND, SWITCH CORD
25G-83936-01-00
Unavailable
39
SPRING,COMPRESSION
90501-100F8-00
Unavailable
40
FUEL PUMP COMP.
1HX-13907-01-00
Unavailable
