Yamaha XV535LC (VIRAGO 535 CA) 4YNA 1999 DRIVE SHAFT Diagram
#
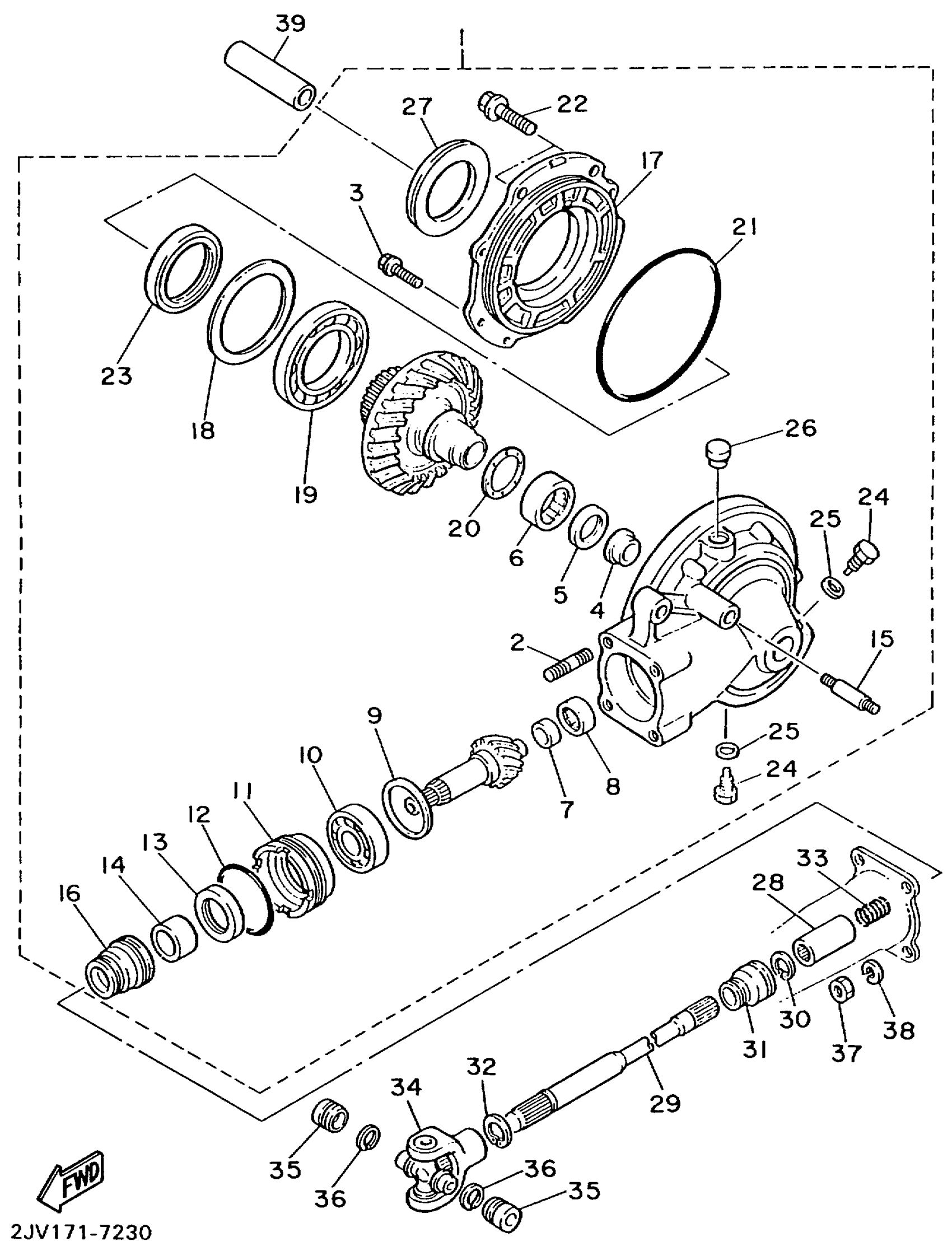
1
REAR AXLE GEAR CASE ASSY
2NT-46101-00-00
Unavailable
2
BOLT, STUD (5E5)
90116-10361-00
Unavailable
4
COLLAR, GUIDE
22U-46153-00-00
Unavailable
6
BRG,CYL-CAL ROLLER 80G KY
93311-43729-00
Unavailable
14
. COLLAR
90387-256G9-00
Unavailable
15
BOLT, STUD (4H7)
90116-10249-00
Unavailable
16
. SEAL 1
22U-46136-00-00
Unavailable
17
HOUSING, BEARING
22U-46152-00-00
Unavailable
18
SHIM, RING GEAR
22U-46117-00-25
Unavailable
18
SHIM, RING GEAR
22U-46117-00-30
Unavailable
18
SHIM, RING GEAR
22U-46117-00-40
Unavailable
19
BEARING, CYLINDRICAL (22U)
93316-01301-00
Unavailable
20
WASHER, THRUST
22U-46118-00-12
Unavailable
20
WASHER, THRUST
22U-46118-00-14
Unavailable
20
WASHER, THRUST
22U-46118-00-16
Unavailable
20
WASHER, THRUST
22U-46118-00-18
Unavailable
20
WASHER, THRUST
22U-46118-00-20
Unavailable
21
O-RING (22U)
93211-39569-00
Unavailable
22
BOLT, FLANGE(3GD)
95817-10025-00
Unavailable
23
OIL SEAL (22U)
93102-65277-00
Unavailable
24
PLUG, STRAIGHT SCREW(3FA)
90340-14132-00
Unavailable
25
GASKET
214-11198-01-00
Unavailable
26
BREATHER COMP.
2H7-17590-00-00
Unavailable
27
SEAL, HUB DUST
1J7-25319-02-00
Unavailable
28
COUPLING, GEAR
22U-46123-00-00
Unavailable
29
SHAFT, DRIVE
2GV-46172-00-00
Unavailable
30
CIRCLIP
93440-19112-00
Unavailable
31
SEAL 2
22U-46137-00-00
Unavailable
32
CIRCLIP (537)
93410-22039-00
Unavailable
33
SPRING, COMPRESSION (22U)
90501-15722-00
Unavailable
34
CROSS JOINT COMP.
4X7-46180-00-00
Unavailable
35
BEARING(2HR)
93399-99926-00
Unavailable
36
CIRCLIP (4X7)
93440-20088-00
Unavailable
37
NUT(3BM)
95314-10600-00
Unavailable
38
YBS67-10 WASHER, SPRING
92990-10100-00
Unavailable
39
COLLAR
90387-156G8-00
Unavailable
