Yamaha XV250L1C (V STAR 250 CA) 46BW 2020 FENDER Diagram
#
Description
Price
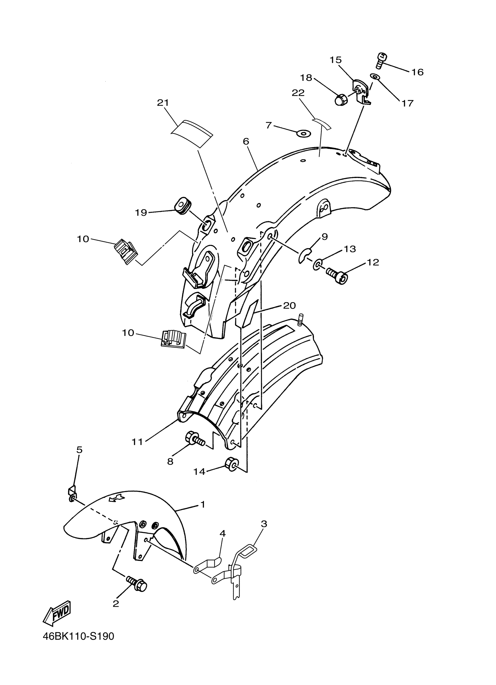
5
BRACKET
3DN-21586-00-00
Unavailable
6
REAR FENDER COMP.
2UJ-21610-00-PK
Unavailable
11
REINF. COMP.
2UJ-21670-20-00
Unavailable
16
SCREW, PAN HEAD(3LA)
98517-05010-00
Unavailable
17
WASHER(1RW)
92907-05600-00
Unavailable
18
NUT, CAP
95307-05800-00
Unavailable
19
GROMMET (438)
90480-15061-00
Unavailable
20
SEAL 3
2UJ-2173M-01-00
Unavailable
21
LABEL, NOTICE BATTERY
10D-2815N-00-00
Unavailable
22
emblem yamaha
3WF-2153E-41-00
Unavailable
