- Partiron
- OEM Parts
- Yamaha
- motorcycle
- 2017
- XV250HS (XV250) 46BK 2017
CARBURETOR
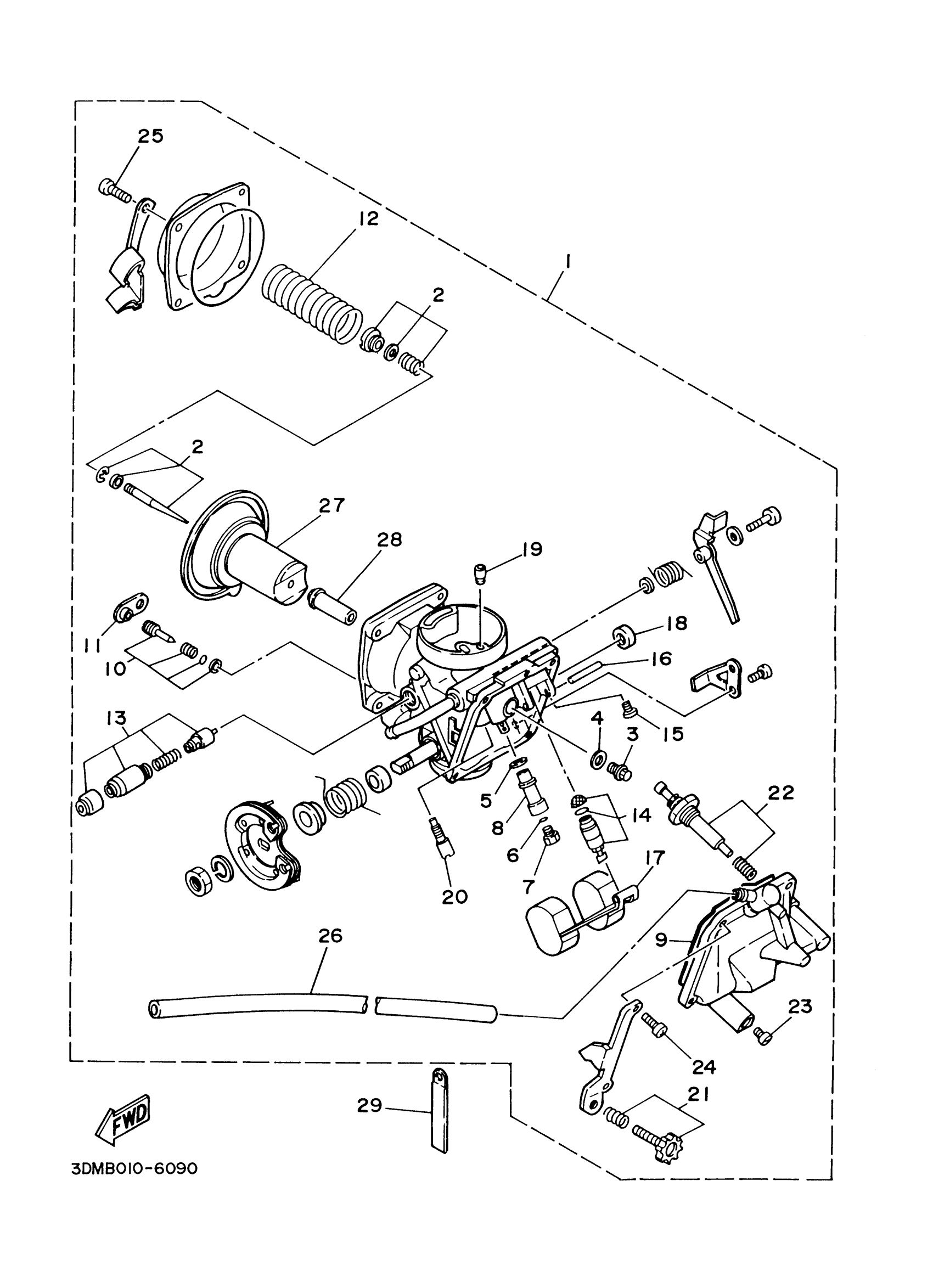
Yamaha XV250HS (XV250) 46BK 2017 CARBURETOR Diagram
#
Description
Price
1
CARBURETOR ASSY
3BG-14900-01-00
Unavailable
2
NEEDLE SET
3BG-1490J-00-00
Unavailable
11
CAP
3F9-14118-00-00
Unavailable
12
SPRING, DIAPHRAGM
1HX-14933-00-00
Unavailable
16
PIN, FLOAT
353-14186-00-00
Unavailable
17
FLOAT
1HX-14985-00-00
Unavailable
18
.. SEAL
256-14997-00-00
Unavailable
19
JET, MAIN (#155)
1HX-14231-31-00
Unavailable
20
JET, PILOT (#17.5)
22F-14142-17-00
Unavailable
21
THROTTLE SCREW SET
1HX-14103-00-00
Unavailable
22
ROD SET
3DM-14504-01-00
Unavailable
23
PLUG, DRAIN
12R-14191-00-00
Unavailable
24
SCREW, PAN HEAD(GA5)
98580-04014-00
Unavailable
25
SCREW, PAN HEAD
98511-04012-00
Unavailable
26
HOSE
50H-14987-00-00
Unavailable
27
DIAPHRAGM ASSY
3BG-14940-00-00
Unavailable
28
MAIN NOZZLE(0-0)
3DM-14141-30-00
Unavailable
