- Partiron
- OEM Parts
- Yamaha
- motorcycle
- 2006
- XV19MVC (ROADLINER MIDNIGHT CA) 4D52 2006
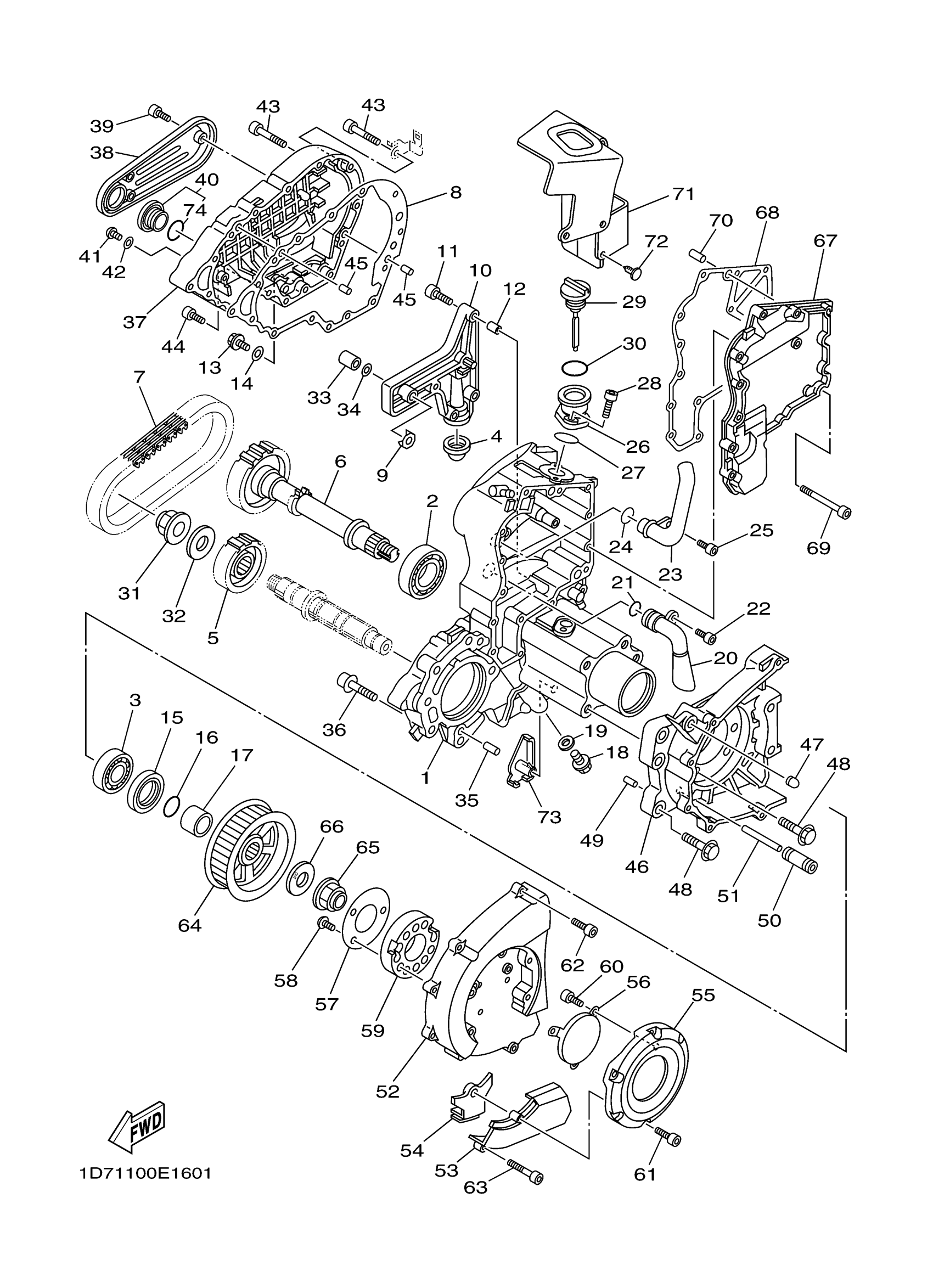
MIDDLE DRIVE GEAR
Yamaha XV19MVC (ROADLINER MIDNIGHT CA) 4D52 2006 MIDDLE DRIVE GEAR Diagram
#
2
BRG,R-B 6208C4 80MM 366G (717)
93306-20801-00
Unavailable
3
BEARING
93306-28204-00
Unavailable
5
SPROCKET, CHAIN DRIVE
1D7-17682-00-00
Unavailable
6
MIDDLE DRIVEN SHAFT ASSY
1D7-1755A-00-00
Unavailable
10
OIL PUMP ASSY
1D7-13100-00-00
Unavailable
12
PIN, DOWEL
99530-08012-00
Unavailable
16
O-RING
93210-32001-00
Unavailable
17
COLLAR
90387-32005-00
Unavailable
18
PLUG, STRAIGHT SCREW(3FA)
90340-14132-00
Unavailable
19
GASKET
214-11198-01-00
Unavailable
20
STRAINER 2
1D7-13421-00-00
Unavailable
21
O-RING (26H)
93210-21631-00
Unavailable
22
BOLT,SOCKET
91317-06016-00
Unavailable
23
PIPE
1D7-13582-00-00
Unavailable
24
O-RING (26H)
93210-21631-00
Unavailable
25
BOLT,SOCKET
91317-06016-00
Unavailable
26
JOINT
1D7-13132-00-00
Unavailable
27
O-RING(2HF)
93210-40745-00
Unavailable
28
BOLT,SOCKET
91317-06025-00
Unavailable
29
PLUG, OIL LEVEL
5PX-15362-10-00
Unavailable
30
O-RING (5X4)
93210-35512-00
Unavailable
31
NUT
90179-22016-00
Unavailable
32
WASHER, CONICAL SPRING
90208-22004-00
Unavailable
33
NUT
90179-10013-00
Unavailable
34
GASKET
90430-10004-00
Unavailable
35
PIN, DOWEL(3VD)
99530-10114-00
Unavailable
36
BOLT, HEXAGON SOCKET HEAD
90110-10013-00
Unavailable
37
COVER
1D7-15779-10-00
Unavailable
38
COVER, HOUSING
1D7-17821-10-00
Unavailable
39
BOLT, SOCKET
91314-05010-00
Unavailable
40
PLUG, STRAIGHT SCREW
90340-20005-00
Unavailable
41
BOLT, BUTTON HEAD
92014-06010-00
Unavailable
42
GASKET 838153840000
90430-06016-00
Unavailable
43
BOLT,SOCKET
91314-06050-00
Unavailable
44
BOLT, SOCKET
91314-06030-00
Unavailable
45
PIN, DOWEL
99530-08012-00
Unavailable
46
STAY
1D7-17613-00-00
Unavailable
47
SPACER 1
5PX-17654-00-00
Unavailable
48
BOLT, FLANGE
95814-12050-00
Unavailable
49
PIN, DOWEL
99530-08012-00
Unavailable
50
SLIDER
4WM-17653-00-00
Unavailable
51
PIN, DOWEL
93606-76002-00
Unavailable
52
COVER
1D7-17076-10-00
Unavailable
53
PLATE, STAY
1D7-17662-10-00
Unavailable
54
GROMMET
1D7-15486-00-00
Unavailable
55
PLATE 1
1D7-17665-10-00
Unavailable
56
PLATE 2
1D7-17675-10-00
Unavailable
57
PLATE, STAY
1D7-17672-00-00
Unavailable
58
SCREW
90149-06081-00
Unavailable
59
DAMPER, SLIDER
1D7-17655-00-00
Unavailable
60
BOLT, SOCKET
91314-05010-00
Unavailable
61
BOLT,SOCKET HEAD
91314-06025-00
Unavailable
62
BOLT, SOCKET
91314-06030-00
Unavailable
63
BOLT,SOCKET
91314-06050-00
Unavailable
64
PULLEY, BELT
1D7-17651-00-00
Unavailable
65
NUT
90179-22016-00
Unavailable
66
WASHER, CONICAL SPRING
90208-22004-00
Unavailable
67
CAP, HOUSING
1D7-17538-00-00
Unavailable
68
GASKET,4
1D7-17933-00-00
Unavailable
69
BOLT,SOCKET
91317-06025-00
Unavailable
70
PIN, DOWEL
99530-08012-00
Unavailable
71
PLATE, CAP
5C7-1763A-00-00
Unavailable
72
RIVET
90269-07005-00
Unavailable
73
PLATE
5PX-17446-00-00
Unavailable
74
O-RING
1D7-176F4-09-00
Unavailable
