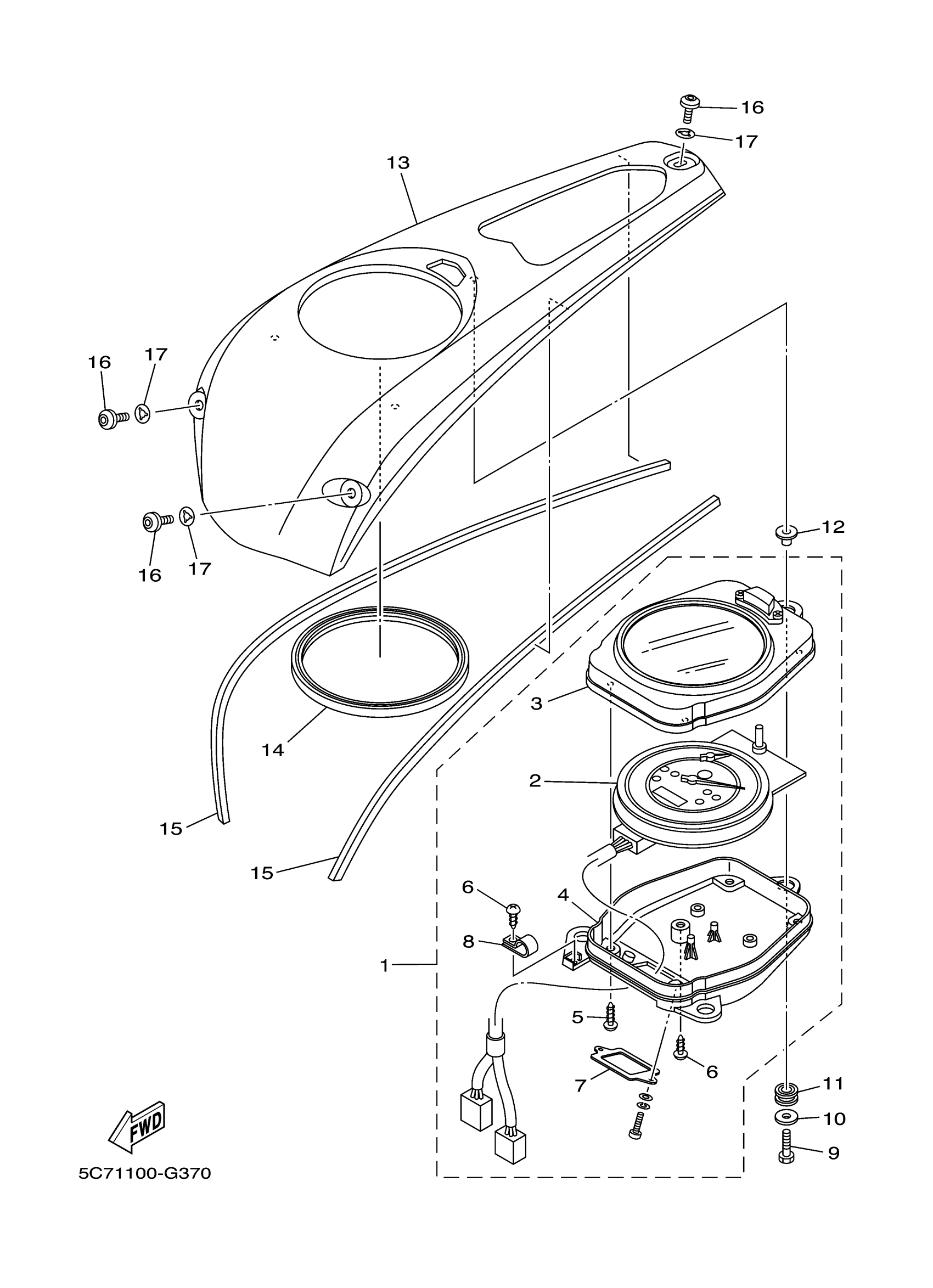
Yamaha XV19CXR (RAIDER) 30B1 2008 METER Diagram
#
Description
Price
3
CASE, METER UPPER
5C7-8353E-00-00
Unavailable
4
CASE, METER LOWER
4WM-8353F-02-00
Unavailable
6
SCREW, TAPPING(71E)
90164-04023-00
Unavailable
13
COVER, METER
5C7-83559-00-00
Unavailable
14
MOLE 3
5C7-28347-00-00
Unavailable
16
SCREW(1XL)
90149-06264-00
Unavailable
17
PLATE
4U5-2176E-00-00
Unavailable
