Yamaha XV19CTSWC (STRATOLINER S CA) 2C55 2007 FRAME Diagram
#
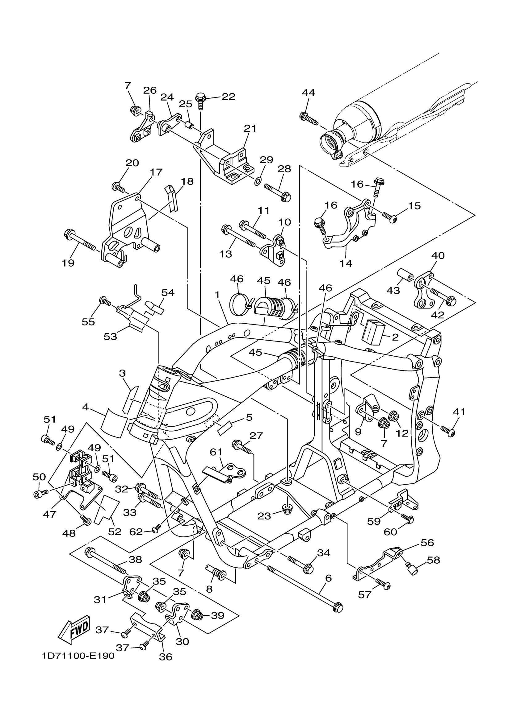
1
FRAME COMP.
1D7-21110-01-00
Unavailable
2
DAMPER, LOCATING 2
1D7-21779-00-00
Unavailable
3
PROTECTOR, FUEL TANK
1D7-24141-00-00
Unavailable
4
SEAL
1D7-2639G-00-00
Unavailable
6
BOLT, WASHER BASED
90105-126A6-00
Unavailable
8
BOLT, ENGINE ADJUSTING
5PX-21495-01-00
Unavailable
9
STAY, ENGINE 2
1D7-21315-00-00
Unavailable
10
STAY, ENGINE 3
5PX-21316-00-00
Unavailable
14
STAY, ENGINE 3
1D7-21317-00-00
Unavailable
16
BOLT, FLANGE
90105-12018-00
Unavailable
17
STAY, ENGINE 6
1D7-21319-00-00
Unavailable
18
SEAL
1D7-21669-00-00
Unavailable
19
BOLT, FLANGE
90105-12025-00
Unavailable
21
STAY, ENGINE 5
1D7-21318-01-00
Unavailable
22
BOLT, FLANGE
95817-10030-00
Unavailable
24
STAY 1
1D7-2142G-00-00
Unavailable
25
COLLAR
90387-12033-00
Unavailable
26
STAY, ENGINE 7
1D7-21387-00-00
Unavailable
27
BOLT, FLANGE(4GB)
95817-10045-00
Unavailable
28
BOLT
90101-12025-00
Unavailable
29
WASHER, PLATE (4N0)
90201-126A7-00
Unavailable
30
STAY 2
1D7-2142H-01-00
Unavailable
31
STAY 3
1D7-2142J-01-00
Unavailable
32
BOLT, FLANGE
90105-10049-00
Unavailable
33
BOLT, FLANGE
90105-10060-00
Unavailable
34
BOLT, FLANGE
90105-10167-00
Unavailable
35
NUT, SELF-LOCKING
90185-10008-00
Unavailable
36
BRACKET, MEMBER 1
1D7-2115L-00-00
Unavailable
37
BOLT, BUTTON
92014-08020-00
Unavailable
38
BOLT, FLANGE
90105-12016-00
Unavailable
39
NUT, SELF-LOCKING
90185-12002-00
Unavailable
40
STAY 1
1D7-2137F-00-00
Unavailable
41
BOLT
90111-10009-00
Unavailable
42
BOLT, FLANGE
95817-10075-00
Unavailable
43
COLLAR
1D7-21116-01-00
Unavailable
44
BOLT, FLANGE
90105-10166-00
Unavailable
45
DAMPER, LOCATING 3
4YR-24183-01-00
Unavailable
46
BAND
3MA-82591-00-00
Unavailable
47
BRACKET, COIL
1D7-21359-00-00
Unavailable
48
BOLT, BUTTON HEAD
92017-06014-00
Unavailable
49
WASHER, PLATE
90201-06045-00
Unavailable
50
BOLT,SOCKET
91317-06020-00
Unavailable
51
. BOLT
91380-06020-00
Unavailable
52
DAMPER
1D7-2139X-00-00
Unavailable
53
HOLDER, WIRE 2
1D7-21598-00-00
Unavailable
54
SEAL
1D7-21269-00-00
Unavailable
55
BOLT,HEX. SOCKET BUTTON
90111-06146-00
Unavailable
56
BRACKET, HORN
1D7-21343-00-00
Unavailable
57
BOLT, BUTTON HEAD
92012-08020-00
Unavailable
58
STOPPER, MAIN STAND
1D7-27114-00-00
Unavailable
59
BRACKET, SWITCH
1D7-21453-00-00
Unavailable
60
BOLT, WASHER BASED(JA9)
90105-06696-00
Unavailable
61
STAY, OIL COOLER
1D7-2136H-00-00
Unavailable
62
BOLT, BUTTON
92017-06020-00
Unavailable
