Yamaha XV19CHCB (RAIDER CA) BL95 2017 STEERING Diagram
#
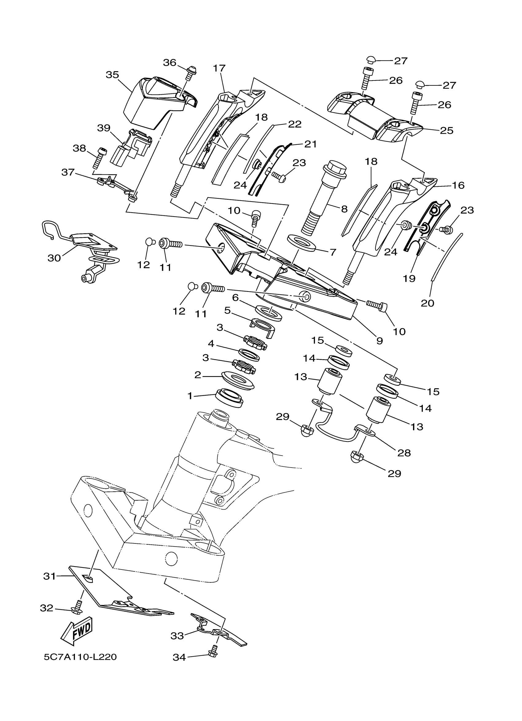
1
BEARING
93332-00091-00
Unavailable
3
NUT
90179-30005-00
Unavailable
6
WASHER, FELT
5C7-23165-00-00
Unavailable
7
WASHER, PLATE
90201-28019-00
Unavailable
8
BOLT, FITTING 1
5C7-23451-00-00
Unavailable
9
CROWN, HANDLE
5C7-23435-10-00
Unavailable
15
WASHER, PLATE
90201-14025-00
Unavailable
16
HOLDER, HANDLE LOWER
5C7-23442-10-00
Unavailable
17
HOLDER, HANDLE UPPER 1
5C7-2344E-10-00
Unavailable
18
DAMPER
5C7-23445-00-00
Unavailable
19
HOLDER, CABLE 1
5C7-23318-10-00
Unavailable
20
COVER, DUST SEAL 1
5C7-23383-00-00
Unavailable
21
HOLDER, CABLE 2
5C7-23319-10-00
Unavailable
22
COVER, DUST SEAL 2
5C7-23384-00-00
Unavailable
23
BOLT, BUTTON HEAD
92014-05008-00
Unavailable
24
COLLAR
90387-05040-00
Unavailable
25
HOLDER, HANDLE UPPER
5C7-23441-10-00
Unavailable
28
STAY, DAMPER
5C7-23495-00-00
Unavailable
29
NUT, CROWN(4TR)
90176-12052-00
Unavailable
30
GUIDE, CABLE
5C7-23389-00-00
Unavailable
31
COVER, STEERING
5C7-23818-10-00
Unavailable
32
BOLT, FLANGE(2UJ)
95024-06012-00
Unavailable
33
PLATE
5C7-23774-00-00
Unavailable
34
BOLT, FLANGE(4MY)
95027-06010-00
Unavailable
35
COVER, MAIN SWITCH
5C7-82568-10-00
Unavailable
36
BOLT
90111-06031-00
Unavailable
37
BRACKET, MAIN
5C7-23474-00-00
Unavailable
38
BOLT, BUTTON HEAD
92012-06020-00
Unavailable
39
GROMMET 1
5C7-82572-00-00
Unavailable
