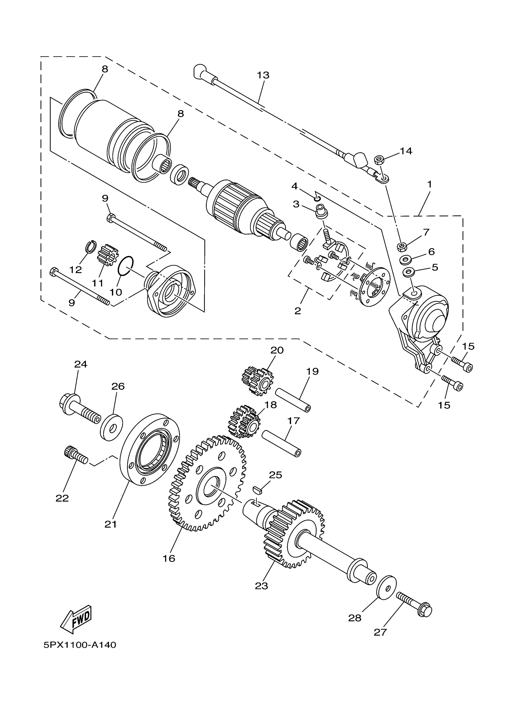
Yamaha XV17PCYS (ROAD STAR WARRIOR) 5PXS 2009 STARTER Diagram
#
Description
Price
1
MOTOR ASSY
5PX-81890-01-00
Unavailable
8
GASKET
5PX-81861-00-00
Unavailable
12
CIRCLIP
99009-10800-00
Unavailable
13
CORD COMP.
1D7-8183G-00-00
Unavailable
16
GEAR 3
4WM-15515-00-00
Unavailable
17
SHAFT 2
4WM-15522-00-00
Unavailable
18
GEAR, IDLER 2
4WM-15517-00-00
Unavailable
19
SHAFT 1
4WM-15521-00-00
Unavailable
20
GEAR, IDLER 1
4WM-15512-00-00
Unavailable
21
STARTER ONE-WAY ASSY
4WM-15590-00-00
Unavailable
22
BOLT,SOCKET
91314-08020-00
Unavailable
23
SHAFT
5VN-15659-00-00
Unavailable
24
BOLT, WASHER BASED
90105-12005-00
Unavailable
25
KEY, WOODRUFF
90280-05001-00
Unavailable
26
WASHER, PLATE
90201-12008-00
Unavailable
27
BOLT, FLANGE(JN5)
95817-08045-00
Unavailable
28
WASHER
4WM-15653-00-00
Unavailable
