- Partiron
- OEM Parts
- Yamaha
- motorcycle
- 2008
- XV17PCXR (ROAD STAR WARRIOR) 5PXN 2008
REAR ARM SUSPENSION
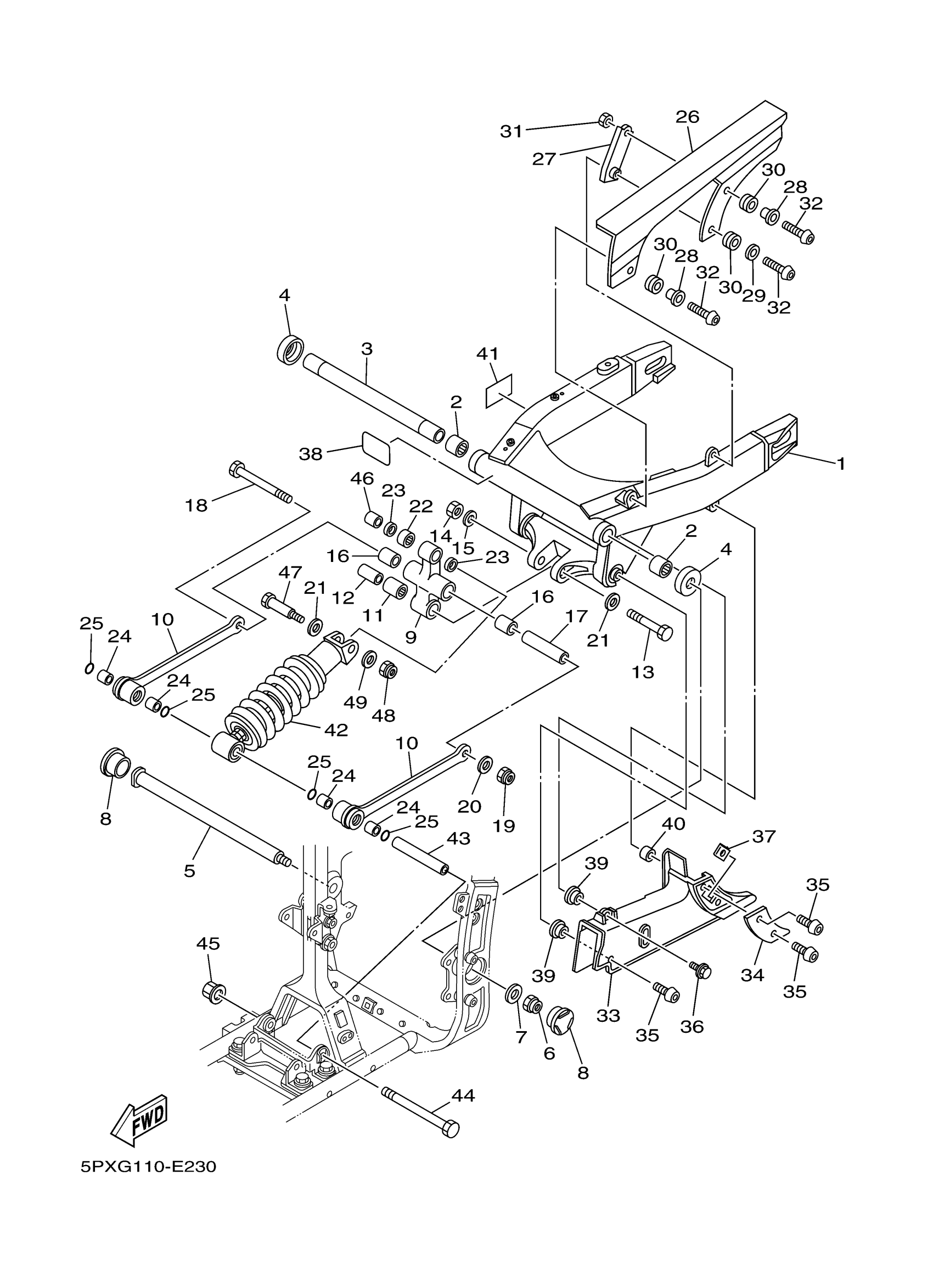
Yamaha XV17PCXR (ROAD STAR WARRIOR) 5PXN 2008 REAR ARM SUSPENSION Diagram
#
1
REAR ARM COMP.
5PX-22110-00-00
Unavailable
2
BEARING, CYLINDRICAL(36Y)
93317-42550-00
Unavailable
3
BUSH
5PX-22184-00-00
Unavailable
7
WASHER, PLATE
90201-18020-00
Unavailable
9
ARM, RELAY
5PX-2217A-00-00
Unavailable
12
COLLAR (34L)
90387-122J6-00
Unavailable
13
BOLT
90101-12002-00
Unavailable
16
BEARING, CYLINDRICAL(2GH)
93317-41761-00
Unavailable
17
COLLAR(2GH)
90387-126T1-00
Unavailable
18
BOLT(2GH)
90101-12673-00
Unavailable
20
WASHER, PLATE (4N0)
90201-126A7-00
Unavailable
21
WASHER, PLATE
90201-13013-00
Unavailable
22
BEARING, CYLINDRICAL(3YL)
93317-31771-00
Unavailable
23
OIL SEAL
93109-17071-00
Unavailable
24
BUSH, BIMETAL FORMED (5X6)
90384-18157-00
Unavailable
25
O-RING (1L9)
93210-18322-00
Unavailable
26
CASE, CHAIN
5PX-22311-00-00
Unavailable
27
STAY, CHAIN CASE
5PX-2213J-01-00
Unavailable
28
COLLAR (8G8)
90387-06648-00
Unavailable
29
WASHER, PLATE
90201-06095-00
Unavailable
30
GROMMET
90480-13004-00
Unavailable
31
NUT(6TA)
95317-06600-00
Unavailable
32
BOLT
90111-06038-00
Unavailable
33
CASE, CHAIN 2
5PX-22312-00-00
Unavailable
34
PLATE, GUIDE 1
5PX-22341-00-00
Unavailable
35
SCREW(3XV)
90149-06298-00
Unavailable
36
BOLT, WITH WASHER
90119-06001-00
Unavailable
37
NUT, SPRING(4ES)
90183-06069-00
Unavailable
38
SEAL
4DN-21268-00-00
Unavailable
39
COLLAR
90387-065T2-00
Unavailable
40
COLLAR
90387-06106-00
Unavailable
41
LABEL, TIRE
5JW-21668-00-00
Unavailable
42
SHOCK ABSORBER ASSY, REAR
5PX-22210-20-00
Unavailable
43
COLLAR
90387-1214E-00
Unavailable
44
BOLT(3GD)
90101-12695-00
Unavailable
45
NUT, U FLANGE
95607-12200-00
Unavailable
46
COLLAR(3TJ)
90387-127W0-00
Unavailable
47
BOLT(1WG)
90101-10659-00
Unavailable
48
NUT, U
95617-10100-00
Unavailable
49
WASHER, PLATE(47X)
90201-101J1-00
Unavailable
