Yamaha XV17PCPC (ROAD STAR WARRIOR CA) 5PX2 2002 FENDER Diagram
#
Description
Price
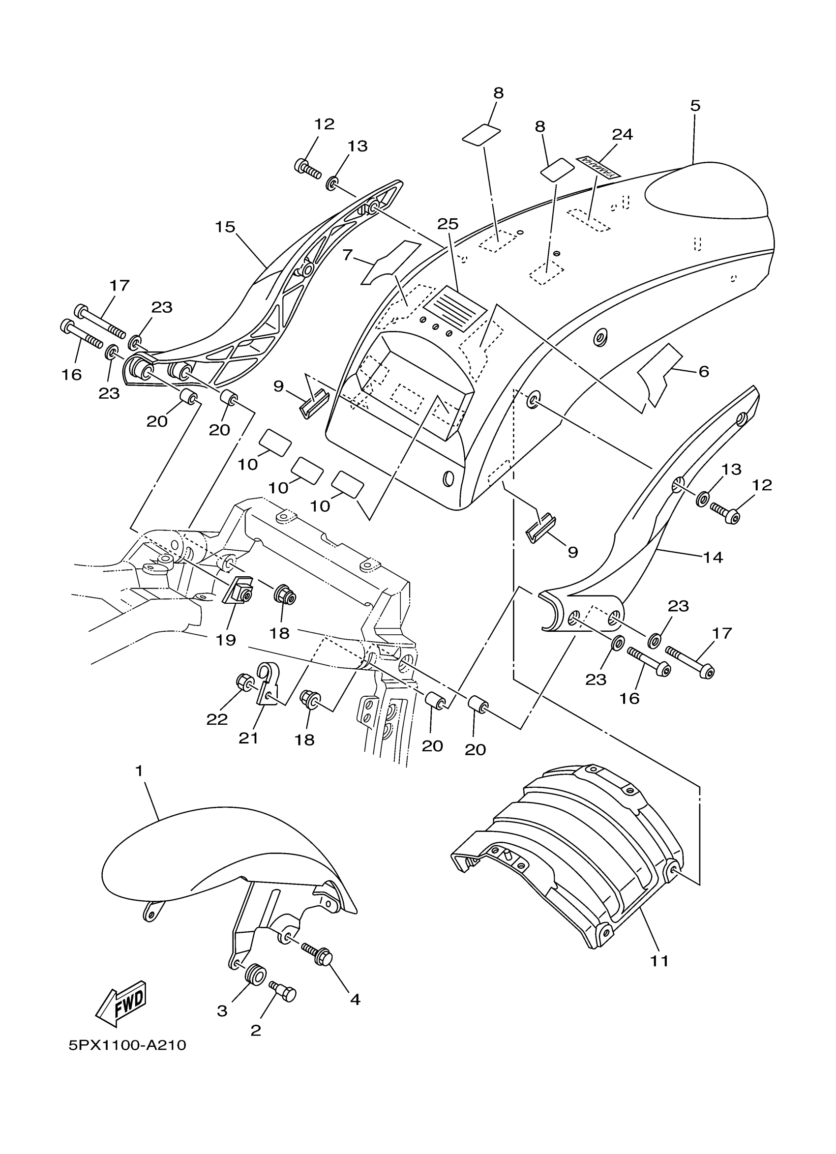
1
FRONT FENDER COMP.
99999-03469-00
Unavailable
1
FRONT FENDER COMP.
99999-03470-00
Unavailable
1
FRONT FENDER COMP.
99999-03471-00
Unavailable
5
REAR FENDER C0MP. (DARK VIOLET METALLIC A)
5PX-YK216-00-P0
Unavailable
5
REAR FENDER C0MP.
5PX-YK216-00-P1
Unavailable
5
REAR FENDER C0MP. (VIVID RED COCKTAIL 7)
5PX-YK216-00-P2
Unavailable
6
SEAL 3
5PX-2173M-00-00
Unavailable
7
SEAL 4
5PX-2173N-00-00
Unavailable
9
MOLD, FUEL TANK
3VD-24188-00-00
Unavailable
11
STAY, REAR
5PX-21643-00-00
Unavailable
12
BOLT, BUTTON HEAD(3YF)
92014-08025-00
Unavailable
13
WASHER, PLAIN
92990-08200-00
Unavailable
14
STAY, FENDER 1
5PX-21613-00-P0
Unavailable
15
STAY, FENDER 2 (MAT BLACK 2)
5PX-21614-00-P0
Unavailable
16
BOLT, BUTTON HEAD
92014-10060-00
Unavailable
17
BOLT
90111-10005-00
Unavailable
18
NUT, SELF-LOCKING(JN5)
95607-10200-00
Unavailable
19
NUT
5PX-21295-00-00
Unavailable
20
PIN, DOWEL
99530-14016-00
Unavailable
21
HANGER, HELMET
5PX-21398-00-00
Unavailable
22
NUT, SELF LOCKING (3G1)
90185-10091-00
Unavailable
23
WASHER, PLATE
90201-10081-00
Unavailable
24
EMBLEM, YAMAHA
99247-00080-00
Unavailable
25
PLATE, EPA 2 (CALIFORNIA)
5PX-2179R-00-00
Unavailable
25
PLATE, EPA 1(NON CALIFORNIA)
5PX-2179V-00-00
Unavailable
