- Partiron
- OEM Parts
- Yamaha
- motorcycle
- 2008
- XV17PCMXC (ROAD STAR MIDNIGHT WARRIOR CA) 2D8B 2008
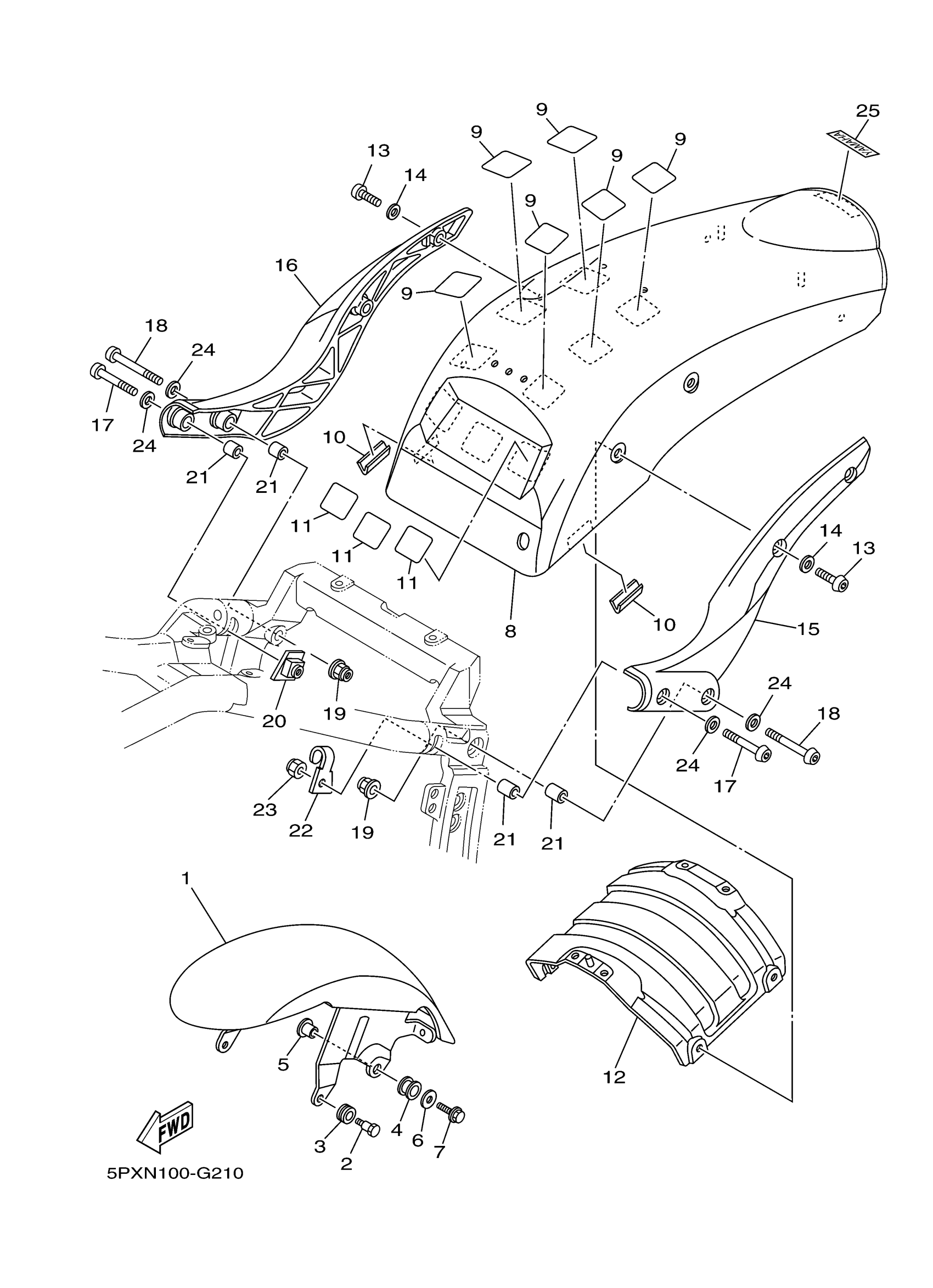
FENDER
Yamaha XV17PCMXC (ROAD STAR MIDNIGHT WARRIOR CA) 2D8B 2008 FENDER Diagram
#
Description
Price
1
FRONT FENDER COMP.
5PX-YK215-11-33
Unavailable
4
GROMMET
90480-15007-00
Unavailable
5
COLLAR(2KF)
90387-087T7-00
Unavailable
8
REAR FENDER C0MP.
5PX-YK216-10-33
Unavailable
10
MOLD, FUEL TANK
3VD-24188-00-00
Unavailable
12
STAY, REAR
5PX-21643-10-00
Unavailable
14
WASHER, PLAIN
92990-08200-00
Unavailable
15
STAY, FENDER 1
5PX-21613-00-P0
Unavailable
16
STAY, FENDER 2 (MAT BLACK 2)
5PX-21614-00-P0
Unavailable
17
BOLT, BUTTON HEAD
92014-10060-00
Unavailable
18
BOLT
90111-10005-00
Unavailable
19
NUT, SELF-LOCKING(JN5)
95607-10200-00
Unavailable
20
NUT
5PX-21295-00-00
Unavailable
21
PIN, DOWEL
99530-14016-00
Unavailable
22
HANGER, HELMET
5PX-21398-00-00
Unavailable
23
NUT, SELFLOCKING (533 FRAME)
90185-10060-00
Unavailable
24
WASHER, PLATE
90201-10081-00
Unavailable
25
EMBLEM, YAMAHA
3WF-2153E-71-00
Unavailable
